- Partiron
- OEM Parts
- Yamaha
- side-by-side
- 2026
- YXE10WRZTM (WOLVERINE RMAX2 1000 XT R) BKP9 2026
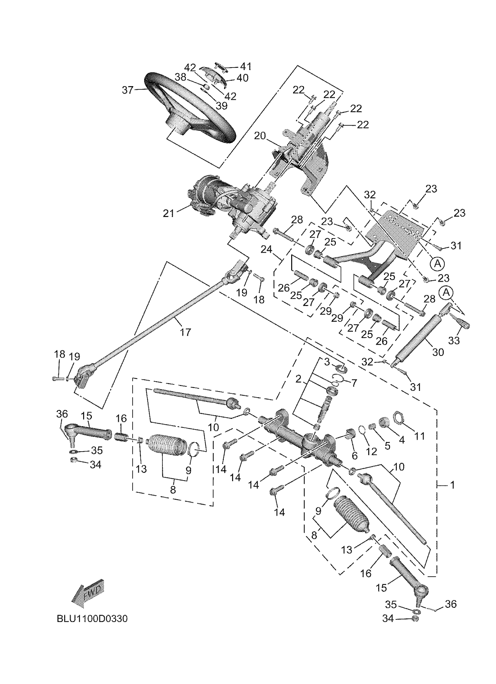
STEERING
Yamaha YXE10WRZTM (WOLVERINE RMAX2 1000 XT R) BKP9 2026 STEERING Diagram
#
1
STEERING ASSY
B4J-F3400-04-00
Unavailable
4
COVER,ADJUST
1XD-F387G-00-00
Unavailable
5
SPRING,PRESSURE
1XD-F387K-00-00
Unavailable
6
PAD,PRESSURE
1XD-F387F-00-00
Unavailable
8
SEAL 1 W/ BAND SET OF 2
1XD-F1208-00-00
Unavailable
11
. LOCK ASSY
1XD-F178K-01-00
Unavailable
16
NUT 1
2HC-F3833-00-00
Unavailable
17
STEERING SHAFT ASS
B4J-F3840-04-00
Unavailable
18
91312-08030
91312-08030-00
Unavailable
19
WASHER, PLATE(3XP)
90201-083P5-00
Unavailable
20
COLUMN, STEERING 2
BKP-23813-00-00
Unavailable
21
POWER STRG. ACTUATOR ASSY
BKP-238B0-03-00
Unavailable
22
BOLT, FLANGE DEEP RECESS
95D32-08020-00
Unavailable
23
BOLT, FLANGE
90105-08142-00
Unavailable
24
TOP MOUNT COMP.
BKP-F33B0-00-00
Unavailable
25
BUSH, SOLID(3GG)
90381-15088-00
Unavailable
26
COLLAR
90387-10111-00
Unavailable
27
COVER, THRUST 1
1UY-23517-01-00
Unavailable
28
BOLT, FLANGE
90105-10267-00
Unavailable
29
NUT, S/L FLANGE
95602-10200-00
Unavailable
30
SPRING, DAMPER
B4J-F3855-01-00
Unavailable
31
BOLT
90109-06255-00
Unavailable
32
NUT, NYLON
95707-06300-00
Unavailable
33
HANDLE
B4J-F4812-00-00
Unavailable
34
NUT, CASTLE
90171-12001-00
Unavailable
35
WASHER, PLATE
90201-12045-00
Unavailable
36
PIN, COTTER
91490-20025-00
Unavailable
37
WHEEL,STEERING
2HC-F3838-02-00
Unavailable
38
NUT, SELF-LOCKING
90185-12007-00
Unavailable
39
YBS66-12 WASHER,PLAIN
92990-12200-00
Unavailable
40
COVER, STEERING
2HC-F3818-00-00
Unavailable
41
TUNING FORK MARK
1XD-F175B-01-00
Unavailable
42
NUT, SPRING
90183-06071-00
Unavailable
