- Partiron
- OEM Parts
- Yamaha
- side-by-side
- 2025
- YXE10WRASD (WOLVERINE RMAX2 1000 R SPEC) BKP3 2025
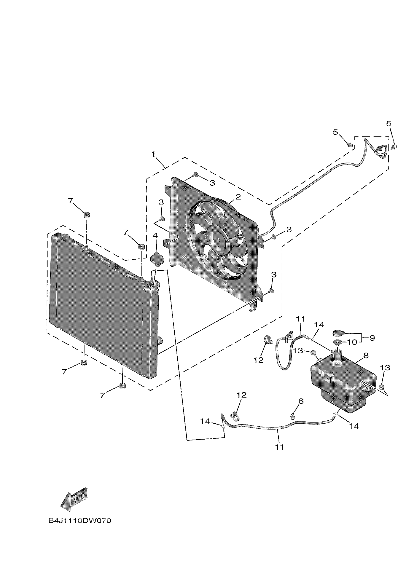
RADIATOR & HOSE
Yamaha YXE10WRASD (WOLVERINE RMAX2 1000 R SPEC) BKP3 2025 RADIATOR & HOSE Diagram
#
Description
Price
2
BLOWER ASSY
BG4-E2405-02-00
Unavailable
