- Partiron
- OEM Parts
- Yamaha
- side-by-side
- 2023
- YXC70VPXPG (VIKING VI EPS) BHE9 2023
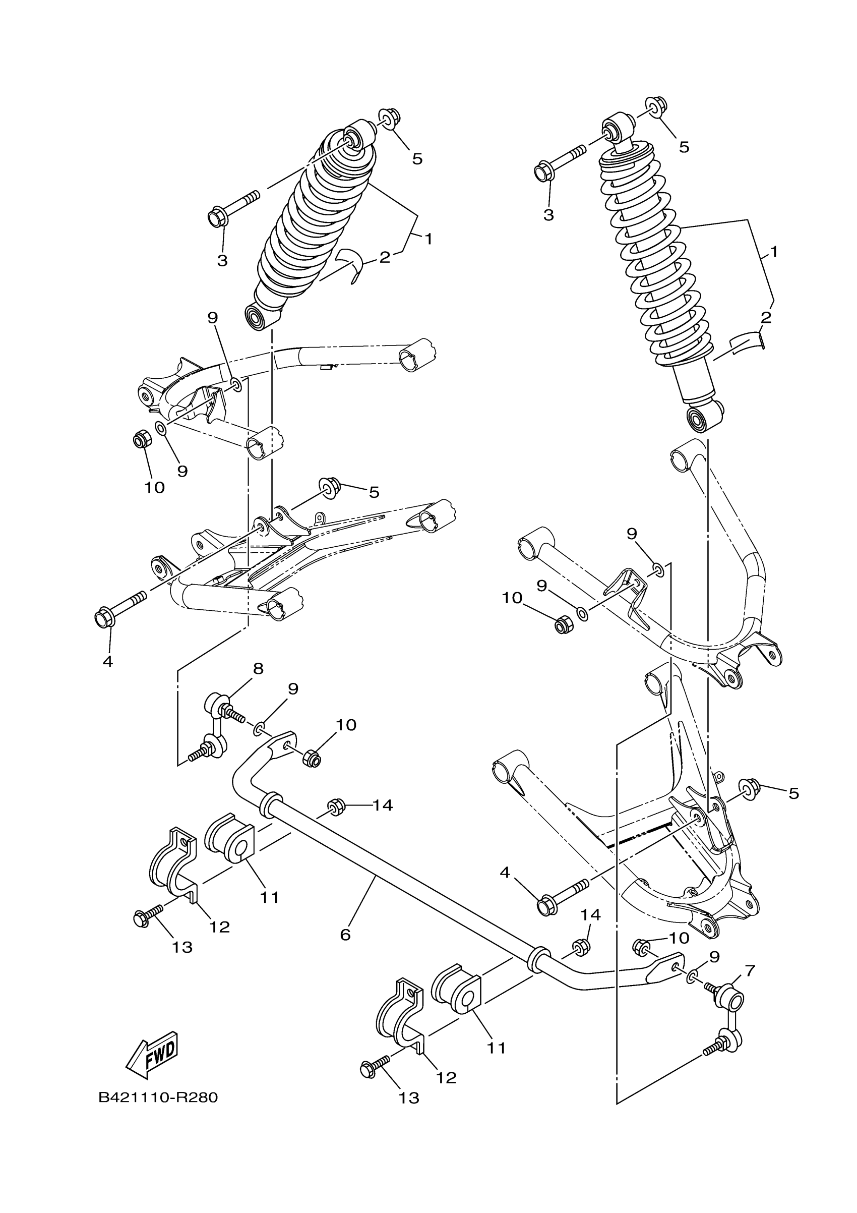
REAR SUSPENSION
Yamaha YXC70VPXPG (VIKING VI EPS) BHE9 2023 REAR SUSPENSION Diagram
#
Description
Price
11
BUSH, STABILIZER F
1XD-F386G-00-00
Unavailable
