- Partiron
- OEM Parts
- Yamaha
- side-by-side
- 2022
- YXC70VPXNG (VIKING VI EPS) BHE5 2022
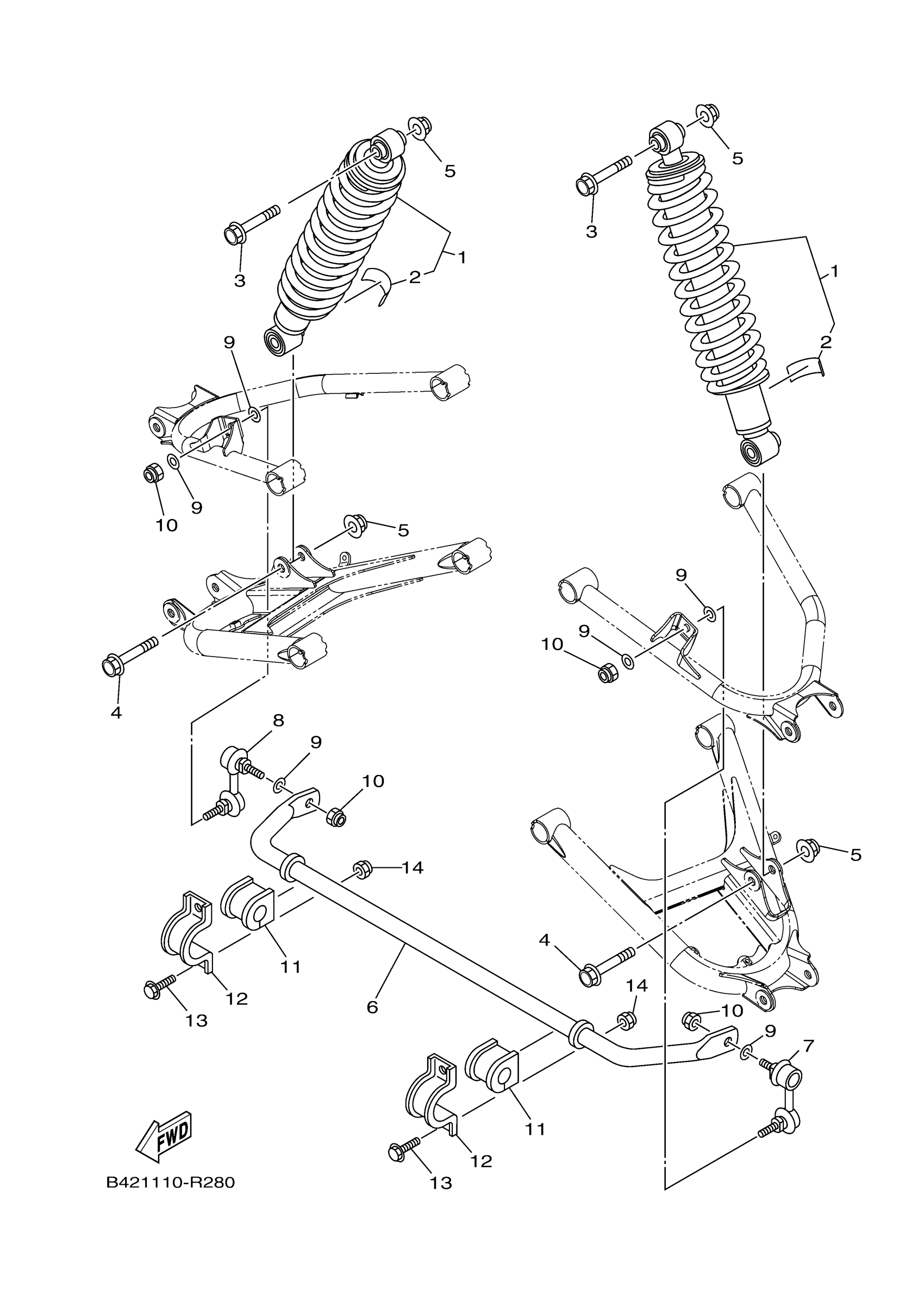
REAR SUSPENSION
Yamaha YXC70VPXNG (VIKING VI EPS) BHE5 2022 REAR SUSPENSION Diagram
#
Description
Price
11
BUSH, STABILIZER F
1XD-F386G-00-00
Unavailable
