- Partiron
- OEM Parts
- Yamaha
- side-by-side
- 2022
- YXC70VPXNG (VIKING VI EPS) BHE5 2022
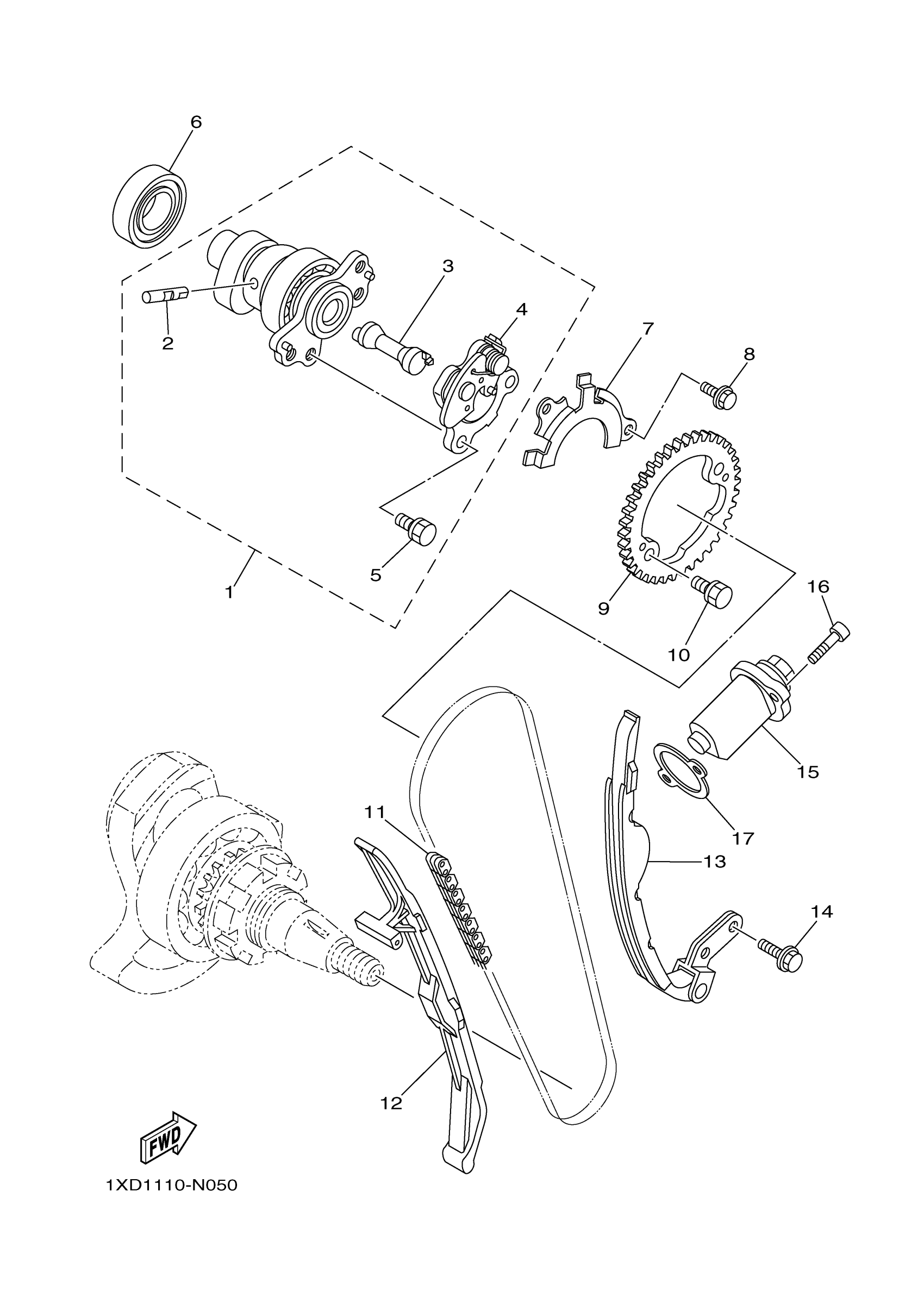
CAMSHAFT & CHAIN
Yamaha YXC70VPXNG (VIKING VI EPS) BHE5 2022 CAMSHAFT & CHAIN Diagram
#
Description
Price
16
BOLT,SOCKET
91317-06025-00
Unavailable
17
GASKET, TENSIONER CASE
4DW-12213-00-00
Unavailable
