- Partiron
- OEM Parts
- Yamaha
- side-by-side
- 2021
- YXC70VPXMG (VIKING VI EPS) BHE1 2021
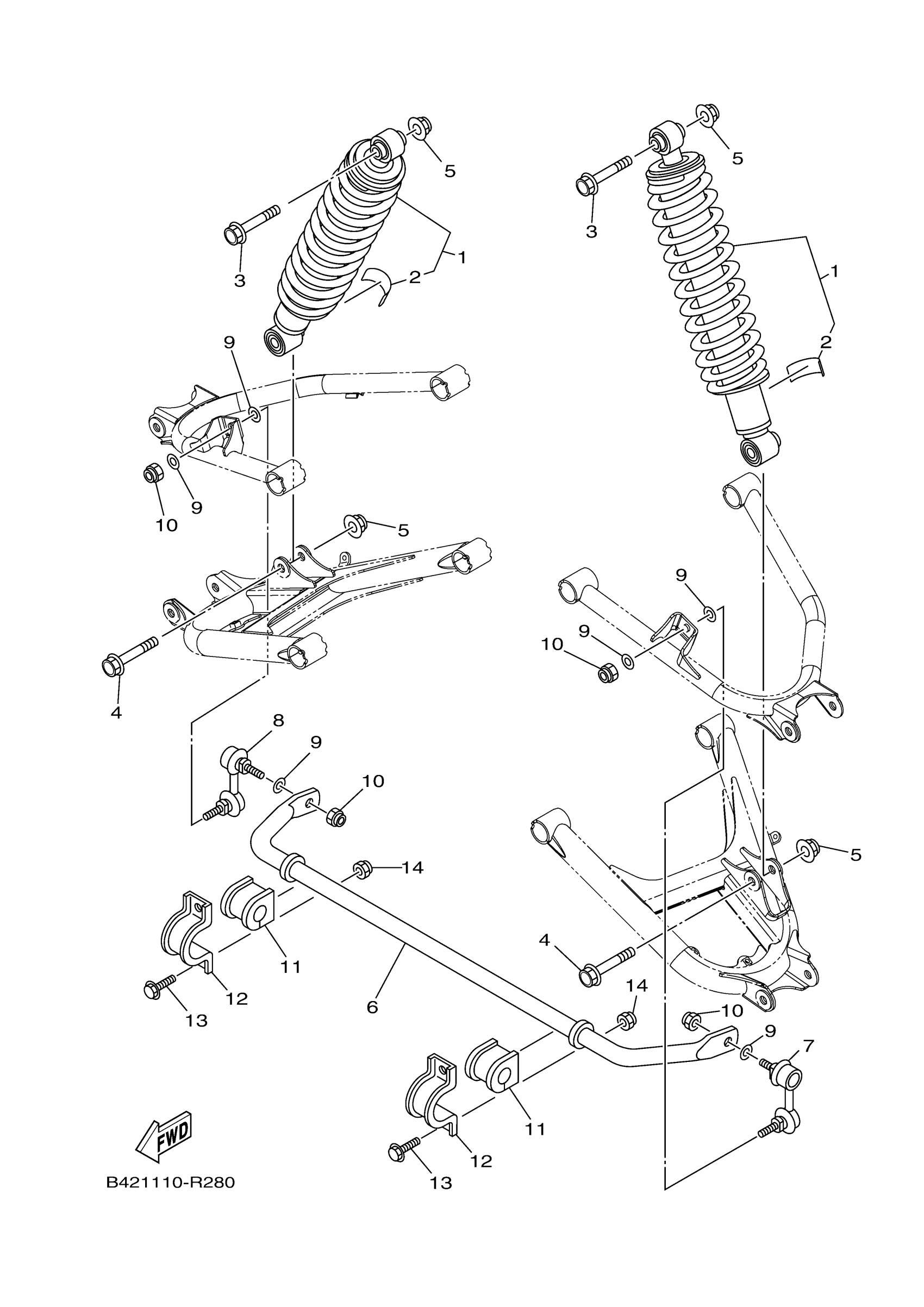
REAR SUSPENSION
Yamaha YXC70VPXMG (VIKING VI EPS) BHE1 2021 REAR SUSPENSION Diagram
#
Description
Price
11
BUSH, STABILIZER F
1XD-F386G-00-00
Unavailable
