- Partiron
- OEM Parts
- Yamaha
- side-by-side
- 2020
- YXC70VPXLG (VIKING VI EPS) B85T 2020
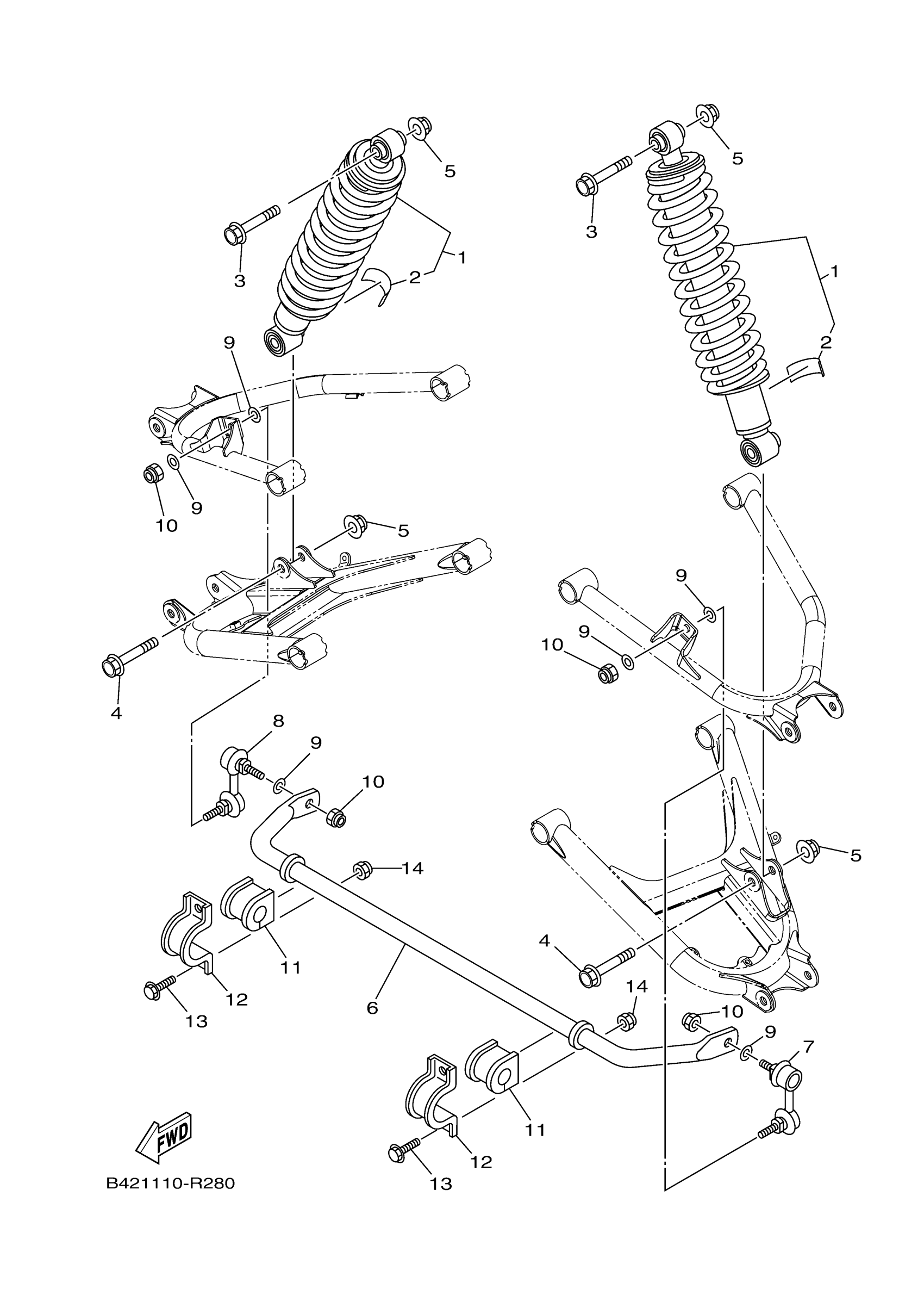
REAR SUSPENSION
Yamaha YXC70VPXLG (VIKING VI EPS) B85T 2020 REAR SUSPENSION Diagram
#
Description
Price
11
BUSH, STABILIZER F
1XD-F386G-00-00
Unavailable
