- Partiron
- OEM Parts
- Yamaha
- side-by-side
- 2016
- YXC70VPSGB (VI EPS SPECIAL EDITION) B857 2016
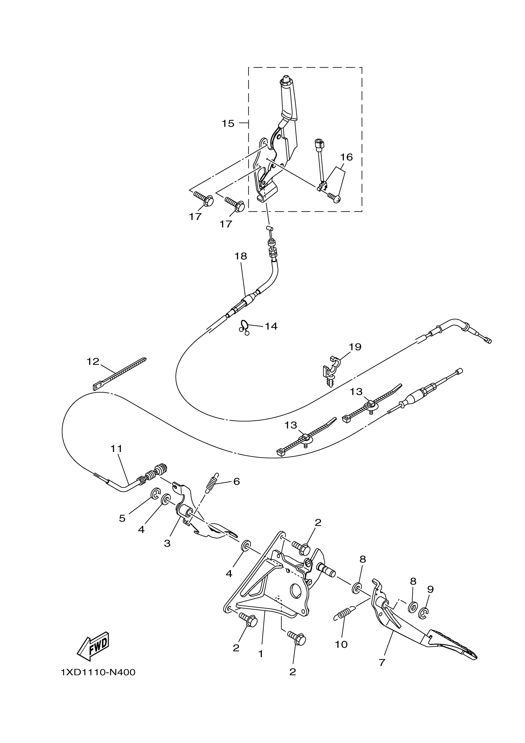
PEDAL WIRE
Yamaha YXC70VPSGB (VI EPS SPECIAL EDITION) B857 2016 PEDAL WIRE Diagram
#
Description
Price
1
BRACKET,PEDL SUPRT
1XD-F2548-00-KT
Unavailable
3
ACCEL PEDAL ASSY
1XD-F7801-00-00
Unavailable
14
CLAMP
90464-20804-00
Unavailable
16
. SWITCH COMP
5UG-H251S-00-00
Unavailable
17
BOLT, FLANGE
95817-06012-00
Unavailable
18
WIRE, BRAKE 1
2PG-26341-02-00
Unavailable
19
CLAMP
90464-12830-00
Unavailable
