- Partiron
- OEM Parts
- Yamaha
- side-by-side
- 2023
- YXC70VPRPC (VIKING VI EPS RANCH) BHEB 2023
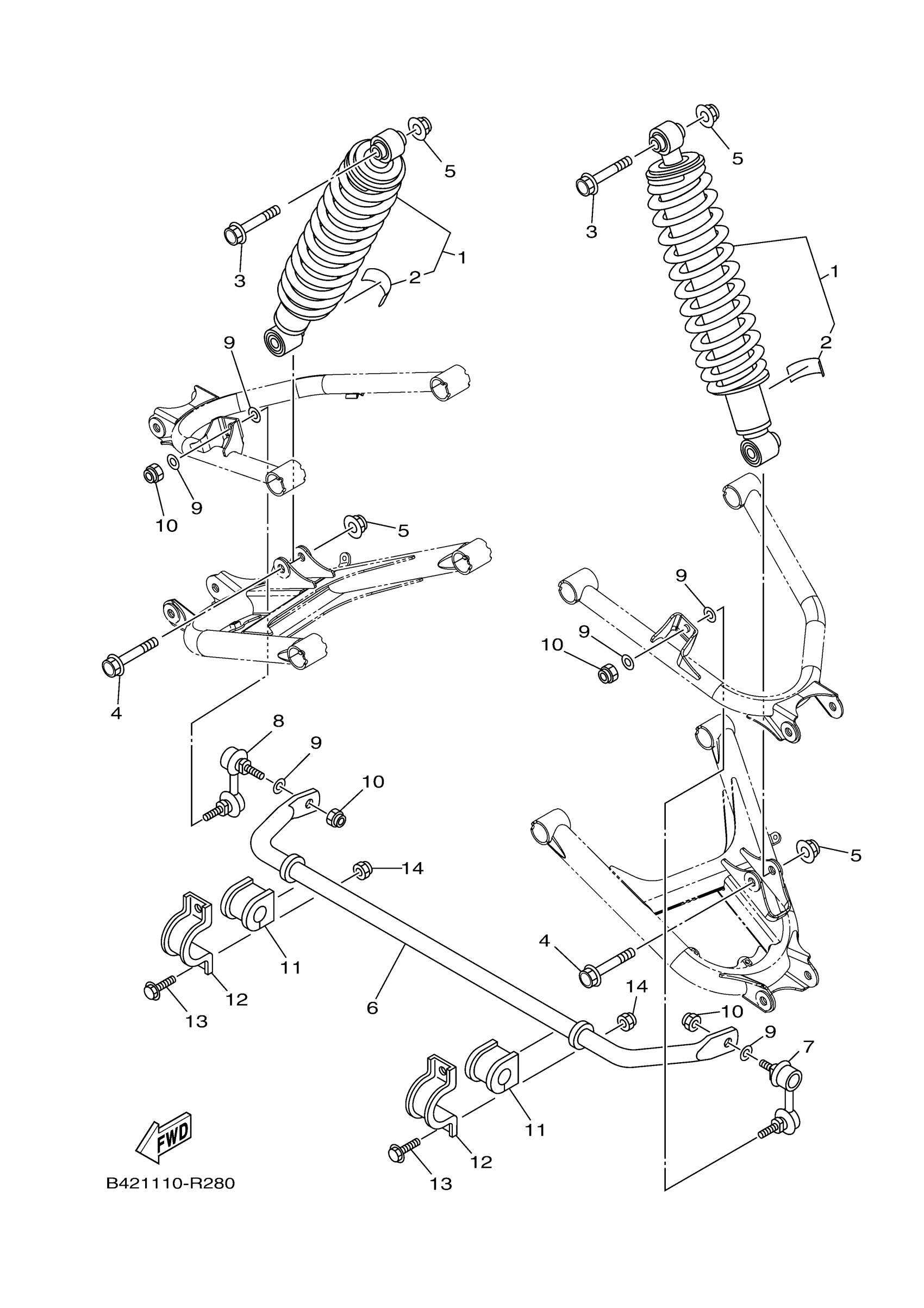
REAR SUSPENSION
Yamaha YXC70VPRPC (VIKING VI EPS RANCH) BHEB 2023 REAR SUSPENSION Diagram
#
Description
Price
11
BUSH, STABILIZER F
1XD-F386G-00-00
Unavailable
