- Partiron
- OEM Parts
- Yamaha
- side-by-side
- 2021
- YXC70VPHMH (VIKING VI EPS HUNTER) BHE3 2021
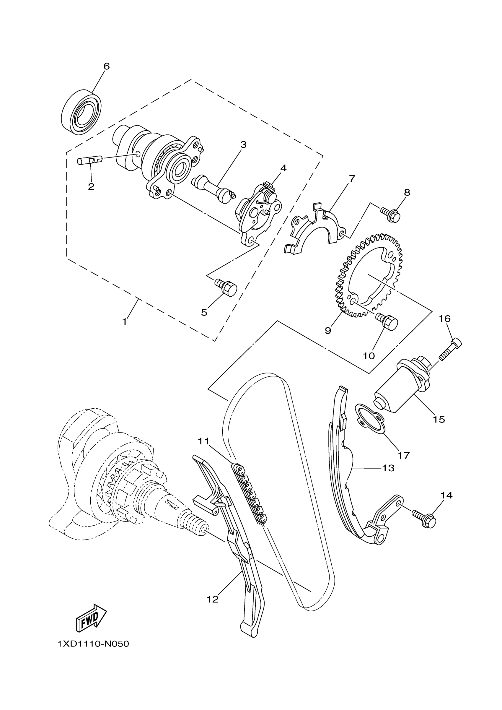
CAMSHAFT CHAIN
Yamaha YXC70VPHMH (VIKING VI EPS HUNTER) BHE3 2021 CAMSHAFT CHAIN Diagram
#
Description
Price
16
BOLT,SOCKET
91317-06025-00
Unavailable
17
GASKET, TENSIONER CASE
4DW-12213-00-00
Unavailable
