- Partiron
- OEM Parts
- Yamaha
- side-by-side
- 2020
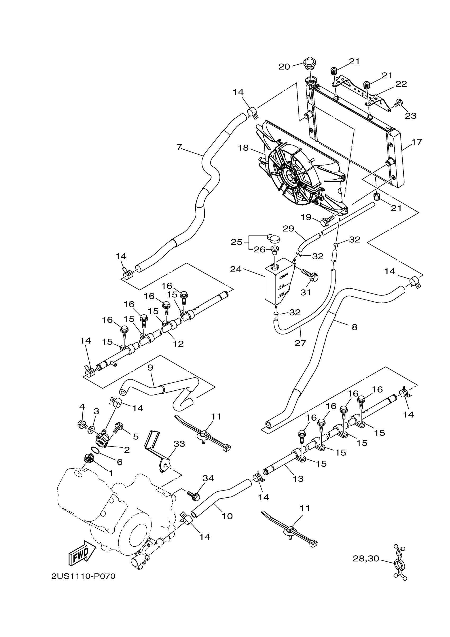
- YXC70VPHLH (VIKING VI EPS HUNTER) B85V 2020
RADIATOR HOSE
Yamaha YXC70VPHLH (VIKING VI EPS HUNTER) B85V 2020 RADIATOR HOSE Diagram
#
Description
Price
3
GASKET 256113960000
90430-06014-00
Unavailable
13
PIPE 3
2PG-E2483-00-00
Unavailable
16
BOLT, FLANGE
90105-06831-00
Unavailable
17
RADIATOR ASY
1XD-E2461-01-00
Unavailable
18
BLOWER ASSY
1XD-E2405-01-00
Unavailable
19
BOLT, BLOWER HOLDI
1XD-E2675-00-00
Unavailable
20
CAP, RADIATOR
1XD-E2462-00-00
Unavailable
21
GROMMET(2GH)
90480-12475-00
Unavailable
22
BRACKET, WATER COO
1XD-E2518-00-00
Unavailable
23
BOLT, SPECIAL 1
JW1-K6179-01-00
Unavailable
24
TANK, RECOVERY
1XD-F1871-00-00
Unavailable
25
CAP
1AA-21815-00-00
Unavailable
26
GASKET
1AA-21874-00-00
Unavailable
27
HOSE (L920)
90445-08846-00
Unavailable
28
CLAMP(3XV)
90464-29179-00
Unavailable
29
HOSE (L760)
90445-08845-00
Unavailable
30
CLAMP(3XV)
90464-29179-00
Unavailable
31
BOLT, SPECIAL 1
JW1-K6179-01-00
Unavailable
32
CLIP 101235600
90467-08003-00
Unavailable
33
STAY
1XD-E2443-00-00
Unavailable
34
BOLT, FLANGE
95814-10040-00
Unavailable
