- Partiron
- OEM Parts
- Yamaha
- side-by-side
- 2020
- YXC70VPHLH (VIKING VI EPS HUNTER) B85V 2020
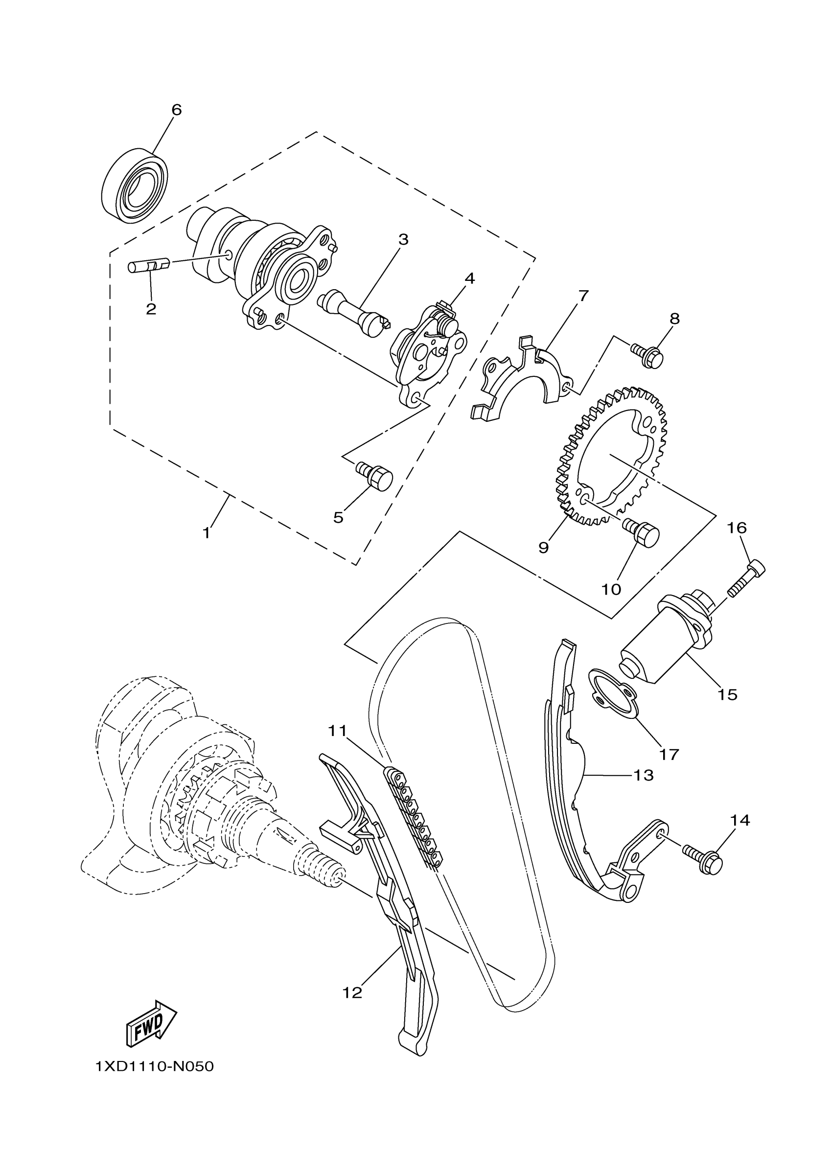
CAMSHAFT CHAIN
Yamaha YXC70VPHLH (VIKING VI EPS HUNTER) B85V 2020 CAMSHAFT CHAIN Diagram
#
Description
Price
16
BOLT,SOCKET
91317-06025-00
Unavailable
17
GASKET, TENSIONER CASE
4DW-12213-00-00
Unavailable
