- Partiron
- OEM Parts
- Yamaha
- side-by-side
- 2017
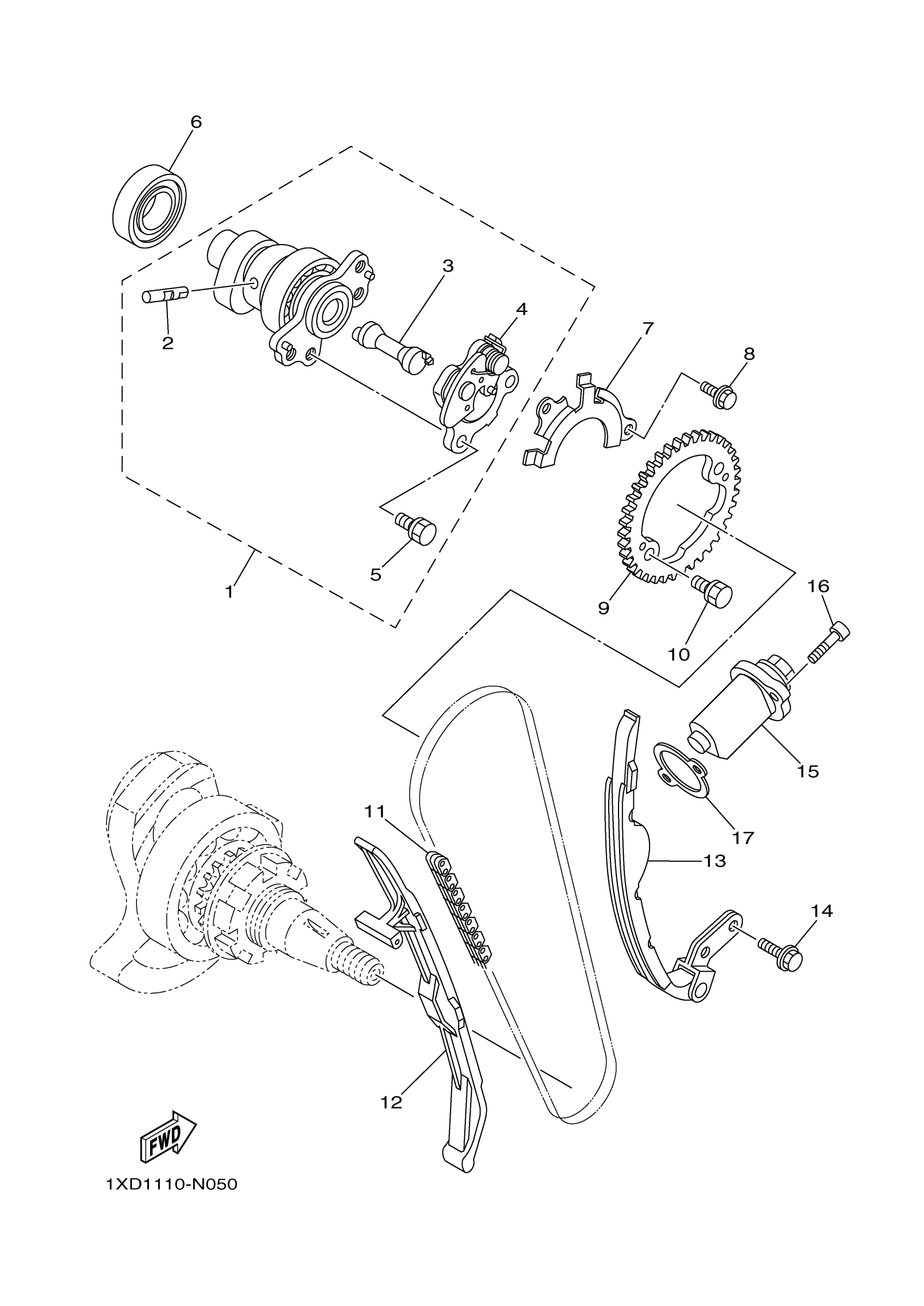
- YXC70VPHHH (VIKING VI EPS HUNTER) B85D 2017
CAMSHAFT CHAIN
Yamaha YXC70VPHHH (VIKING VI EPS HUNTER) B85D 2017 CAMSHAFT CHAIN Diagram
#
Description
Price
16
BOLT,SOCKET
91317-06025-00
Unavailable
17
GASKET, TENSIONER CASE
4DW-12213-00-00
Unavailable
