- Partiron
- OEM Parts
- Yamaha
- side-by-side
- 2016
- YXC70VPHGH (VIKING VI EPS HUNTER) B855 2016
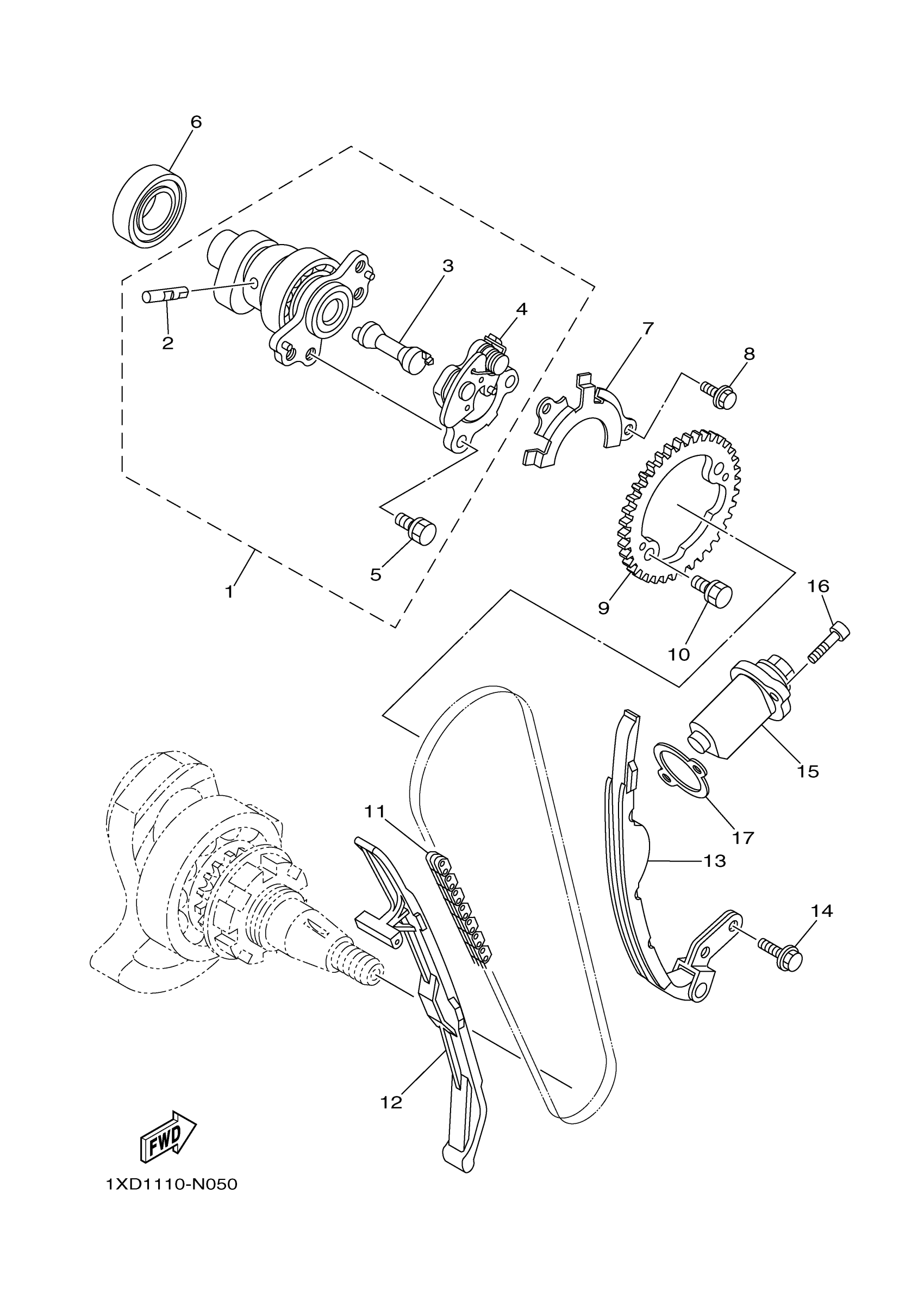
CAMSHAFT CHAIN
Yamaha YXC70VPHGH (VIKING VI EPS HUNTER) B855 2016 CAMSHAFT CHAIN Diagram
#
Description
Price
16
BOLT,SOCKET
91317-06025-00
Unavailable
17
GASKET, TENSIONER CASE
4DW-12213-00-00
Unavailable
