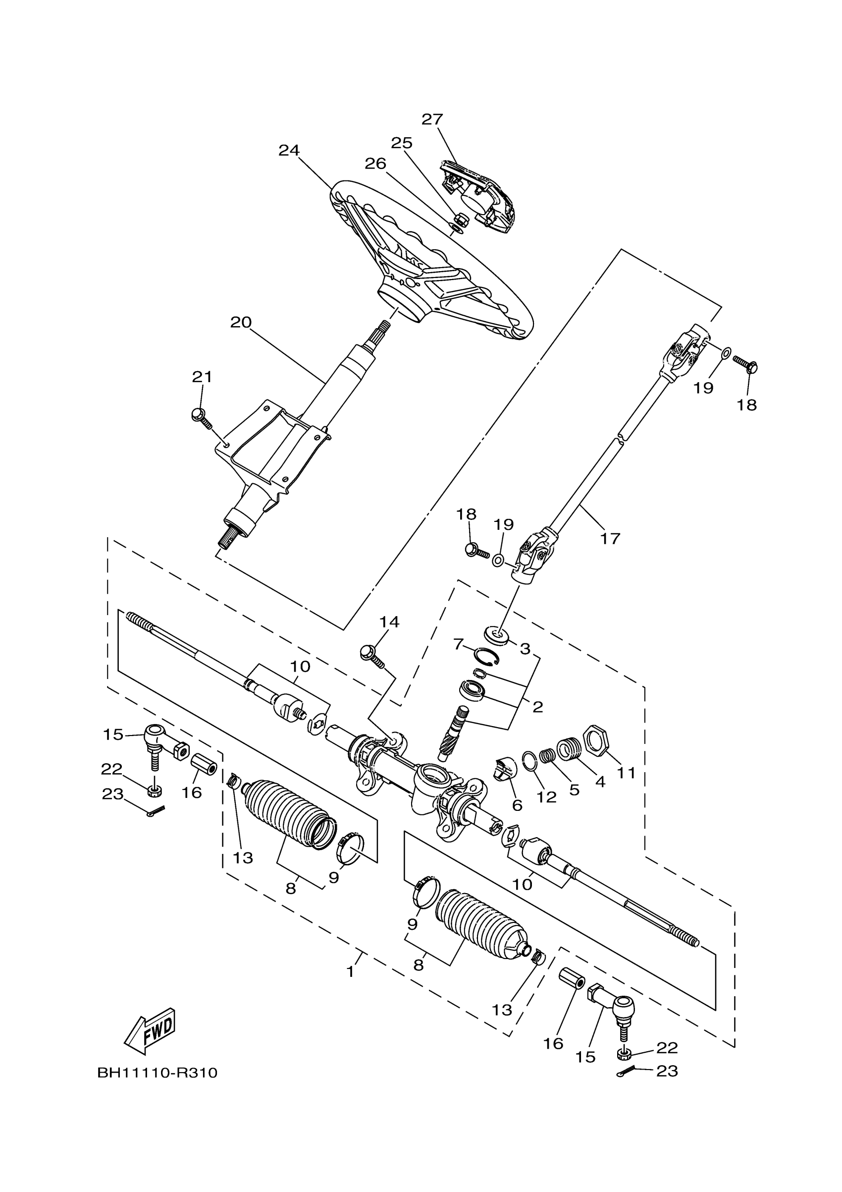
Yamaha YXC70VDXGG (VIKING VI) BH11 2016 STEERING Diagram
#
Description
Price
4
COVER,ADJUST
1XD-F387G-00-00
Unavailable
5
SPRING,PRESSURE
1XD-F387K-00-00
Unavailable
6
PAD,PRESSURE
1XD-F387F-00-00
Unavailable
7
RING,STOPPER
1XD-F387J-00-00
Unavailable
8
SEAL 1 W/ BAND SET OF 2
1XD-F1208-00-00
Unavailable
10
RACK END SET
1XD-F38H0-00-00
Unavailable
11
LOCK ASSY
1XD-F178K-00-00
Unavailable
16
NUT 1
2PG-F3833-00-00
Unavailable
17
STEERING SHAFT ASS
1XD-F3840-01-00
Unavailable
18
BOLT, SOCKET
91317-08025-00
Unavailable
19
WASHER, PLATE(3XP)
90201-083P5-00
Unavailable
20
COLUMN, STEERING
1XD-F3811-00-00
Unavailable
21
BOLT, FLANGE
95812-08020-00
Unavailable
22
NUT, CASTLE
90171-12001-00
Unavailable
23
PIN, COTTER
91490-20025-00
Unavailable
24
STEERING WHEEL KIT
2HC-F3838-09-00
Unavailable
25
NUT, SELF-LOCKING
90185-12008-00
Unavailable
26
YBS66-12 WASHER,PLAIN
92990-12200-00
Unavailable
27
COVER, STEERING
1XD-F3818-00-00
Unavailable
