Partiron

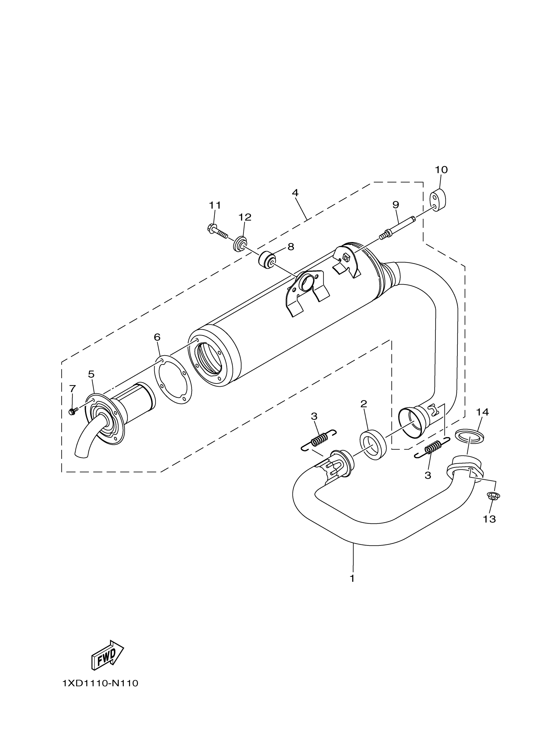
Yamaha YXC700PFR (VIKING VI EPS) 2US12 2015 EXHAUST Diagram

#

Description
Price

1

PIPE, EXHAUST 1

1XD-E4611-02-00

$136.99

2

GASKET,MUFFLER

1XD-E4714-01-00

$59.99

3

SPRING, TENSION

90506-26012-00

$13.99

4

MUFFLER ASSY 1

1XD-E4710-02-00

Unavailable

5

SPARK ARRESTER ASS

2BG-E4780-00-00

$69.99

6

GASKET, SILENCER

2BG-E4755-00-00

$21.99

7

BOLT, FLANGE

95022-06012-00

$3.29

8

DAMPER,FOOTREST

1HP-F7414-00-00

$21.99

9

SHAFT

1XD-E4745-00-00

$27.99

10

DAMPER, MUFFLER

1XD-14737-00-00

$9.99

11

BOLT, FLANGE

95817-08040-00

$7.49

12

WASHER

3B4-14759-01-00

$18.49

13

NUT,FLANGE(J10)

95702-08500-00

$1.43

14

GASKET, EXHAUST PIPE

3EG-14613-00-00

$23.99