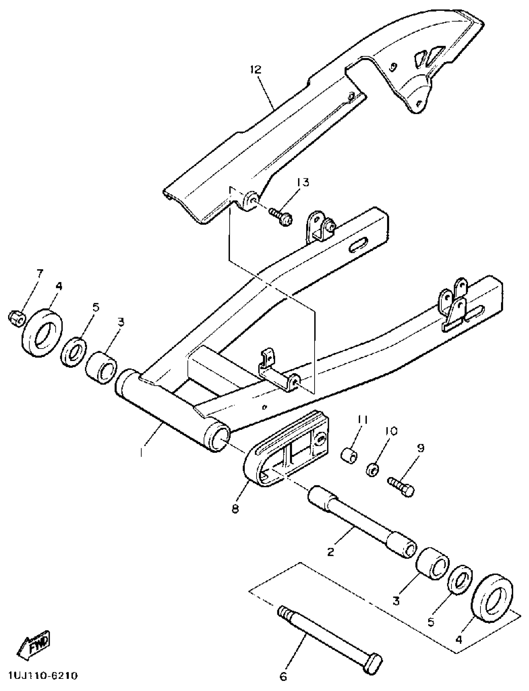
Yamaha YX600WC (RADIAN CA) 1989 SWING ARM Diagram
#
Description
Price
1
REAR ARM
1UJ-22110-00-35
Unavailable
2
BUSH
1UJ-22184-00-00
Unavailable
5
WASHER, PLATE
90201-245A0-00
Unavailable
6
SHAFT, PIVOT
4G0-22141-00-00
Unavailable
8
SEAL, GUARD
1UJ-22151-00-00
Unavailable
12
CASE, CHAIN
1UJ-22311-00-00
Unavailable
