Partiron

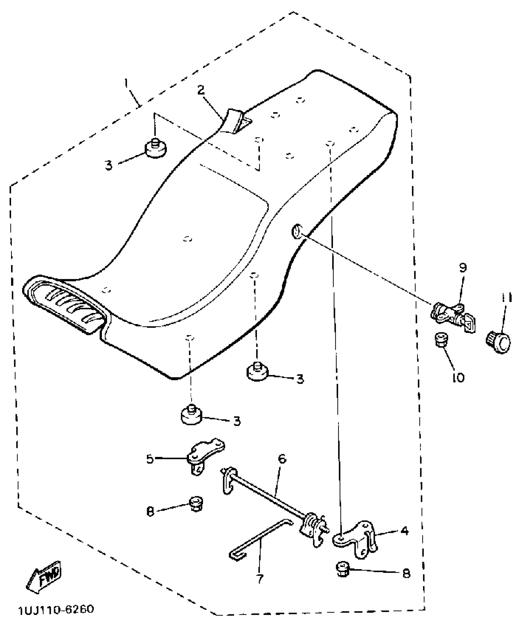
Yamaha YX600WC (RADIAN CA) 1989 SEAT Diagram

#

Description
Price

1

DOUBLE SEAT ASSEMBLY

3LT-24730-00-00

Unavailable

2

. COVER, SEAT

3LT-24731-00-00

Unavailable

3

PAD, SEAT

22W-24741-00-00

$8.99

4

BRACKET, SEAT

47X-24718-01-00

$7.99

5

. BRACKET, SEAT

47X-24728-01-00

Unavailable

6

. LEVER, SEAT

1UJ-24776-00-00

Unavailable

7

. ROD, CONNECTING

47X-2478F-00-00

Unavailable

8

NUT, FLANGE(7NB)

95780-06500-00

$2.60

9

SEAT LOCK ASSY

47X-24705-00-00

Unavailable

10

NUT, FLANGE(3GM)

95707-05500-00

$8.49

11

COVER

51Y-24796-00-00

Unavailable