- Partiron
- OEM Parts
- Yamaha
- motorcycle
- 1986
- YX600SC (RADIAN CA) 1986
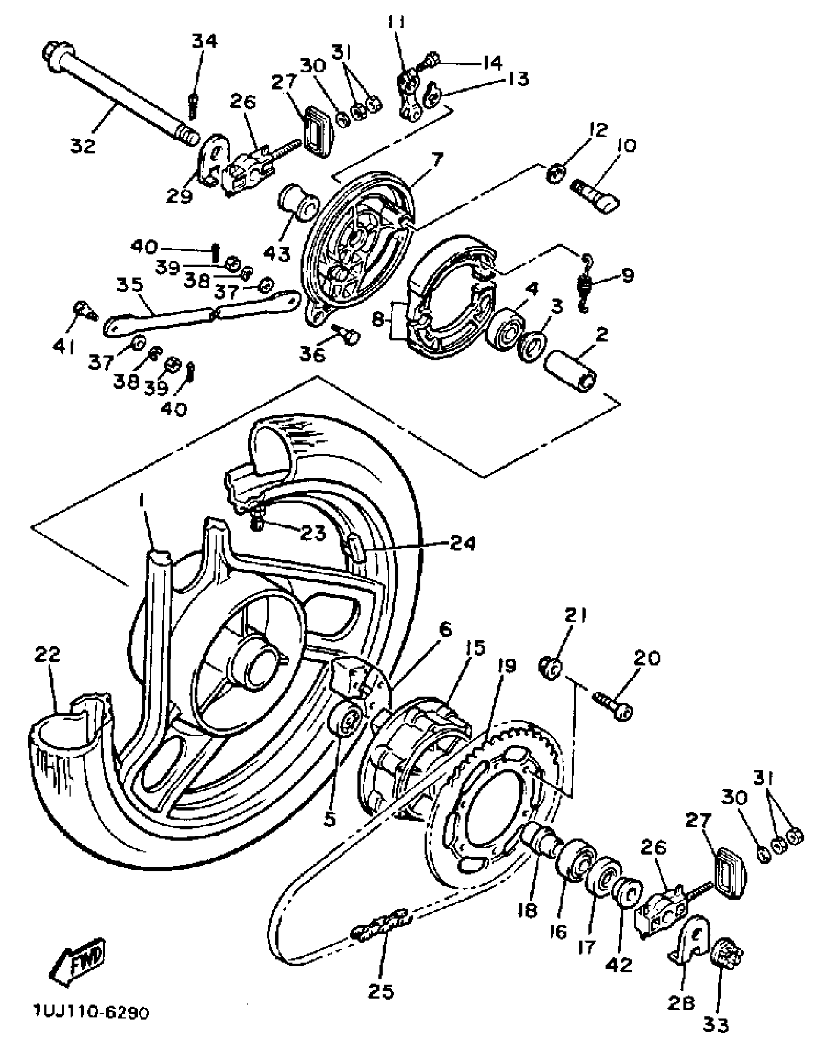
REAR WHEEL
Yamaha YX600SC (RADIAN CA) 1986 REAR WHEEL Diagram
#
1
WHEEL, CAST REAR
1UJ-25338-20-98
Unavailable
2
SPACER
90560-17282-00
Unavailable
6
DAMPER
29L-25364-00-00
Unavailable
7
PLATE, BRAKE SHOE
4H7-25321-00-00
Unavailable
8
BRAKE SHOE KIT
3LT-W253E-00-00
Unavailable
11
LEVER, CAMSHAFT
371-25355-02-00
Unavailable
15
CLUTCH, HUB
1JK-25366-00-00
Unavailable
16
BEARING(3BC)
93306-30437-00
Unavailable
17
OIL SEAL (29L)
93102-32298-00
Unavailable
18
COLLAR
90387-172J8-00
Unavailable
19
SPROCKET, DRIVEN (44T)
49A-25444-21-00
Unavailable
20
BOLT, HEXAGON SOCKET HEAD (29L
90110-08057-00
Unavailable
21
NUT, SELF-LOCKING
90185-08169-00
Unavailable
22
130/90-16 G528 BS
94113-161J2-00
Unavailable
23
VALVE, RIM(2GH)
93900-00030-00
Unavailable
24
BALANCER, WHEEL
5MT-25398-00-00
Unavailable
24
BALANCER, WHEEL
5MT-25398-10-00
Unavailable
24
BALANCER, WHEEL
5MT-25398-20-00
Unavailable
25
DID 50HDL4
94581-10104-00
Unavailable
26
PULLER, CHAIN 1
1JK-25388-00-00
Unavailable
27
END 1
51L-22174-00-00
Unavailable
28
PLATE, INDICATOR
1JK-2533A-00-00
Unavailable
29
PLATE, INDICATOR 2
1JK-2533E-00-00
Unavailable
30
.. WASHER, PLATE
92990-08600-00
Unavailable
31
NUT(6L2)
95333-08600-00
Unavailable
32
AXLE, WHEEL
1UJ-25381-00-00
Unavailable
33
NUT, CASTLE (2H6)
90171-16024-00
Unavailable
34
PIN, COTTER
91490-30030-00
Unavailable
35
BAR, TENSION
4G0-25371-00-00
Unavailable
36
BOLT (537 TENSION BAR)
90109-08406-00
Unavailable
37
.. WASHER, PLATE
92990-08600-00
Unavailable
38
YBS67-8 WASHER, SPRING
92990-08100-00
Unavailable
39
. NUT
95380-08700-00
Unavailable
40
PIN, COTTER
91490-20025-00
Unavailable
41
BOLT (183-25378-00)
90109-08368-00
Unavailable
42
COLLAR
90387-173L6-00
Unavailable
43
COLLAR
90387-172E4-00
Unavailable
