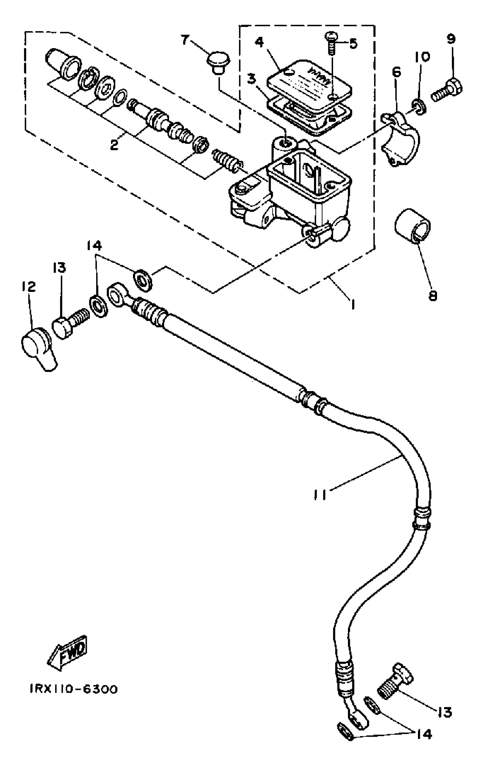
Yamaha YTZ250S 1986 FRONT MASTER CYLINDER Diagram
#
Description
Price
1
MASTER CYLINDER ASSY
5CG-2583T-12-00
Unavailable
2
CYL KIT,MASTER
5VK-25807-00-00
Unavailable
4
CAP, RESERVOIR (FRONT)
2KF-25852-02-00
Unavailable
11
HOSE, BRAKE 1
1RX-25872-01-00
Unavailable
14
WASHER, PLATE(481)
90201-10118-00
Unavailable
