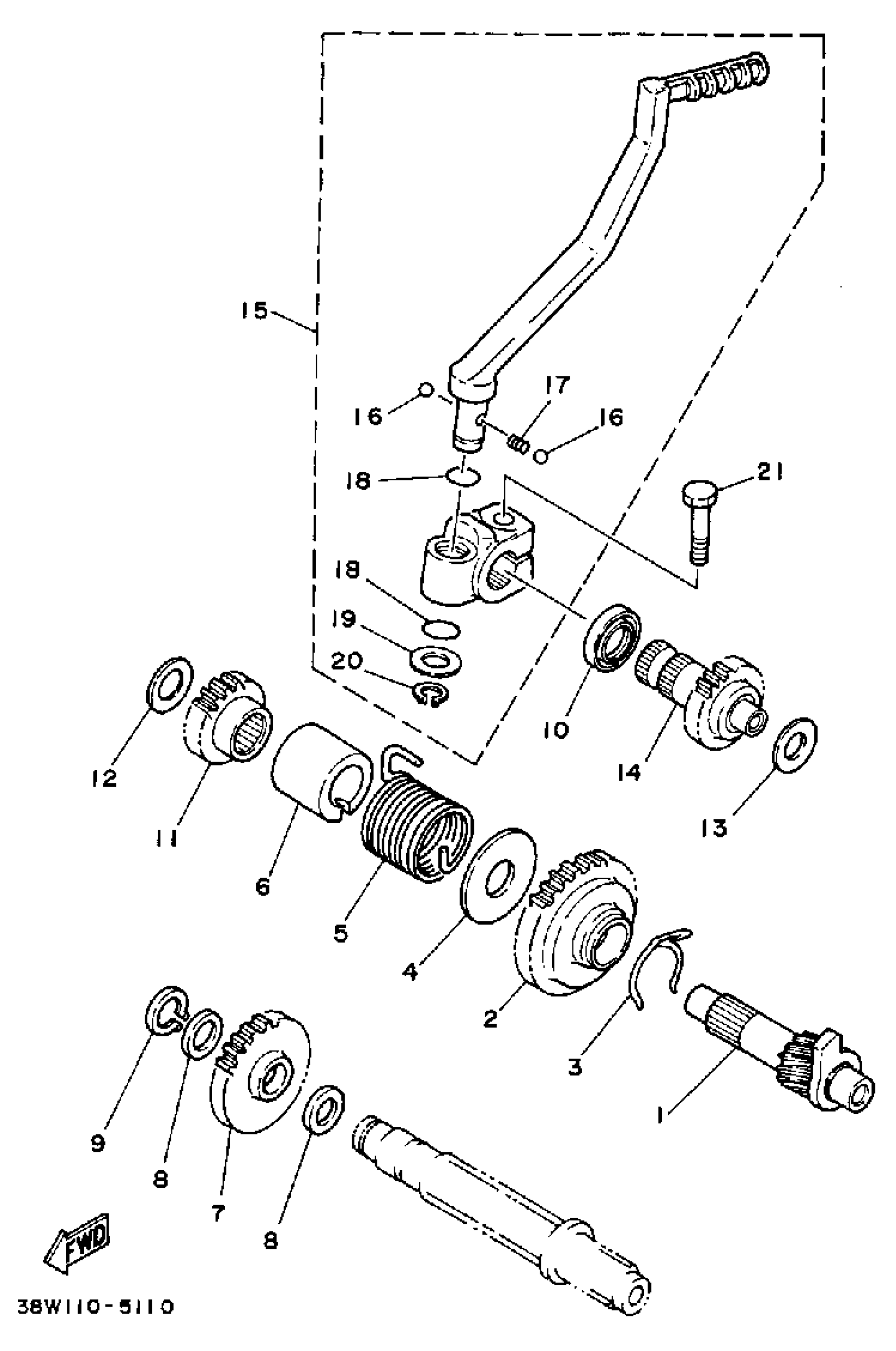
Yamaha YTZ250N 1985 STARTER Diagram
#
Description
Price
1
KICK AXLE ASSEMBLY
38W-15660-00-00
Unavailable
2
GEAR, KICK
3R4-15641-00-00
Unavailable
4
WASHER, PLATE
90201-20358-00
Unavailable
6
GUIDE, SPRING
3R4-15664-00-00
Unavailable
7
GEAR, KICK IDLE
3R4-15651-00-00
Unavailable
11
GEAR, KICK
38W-15641-00-00
Unavailable
12
WASHER, PLATE
90201-13205-00
Unavailable
14
KICK SHAFT ASSEMBLY
38W-15601-00-00
Unavailable
15
KICK CRANK ASSEMBLY
38W-15620-00-00
Unavailable
16
BALL (12R)
93507-32031-00
Unavailable
17
. SPRING, COMPRESSION
90501-10589-00
Unavailable
18
O-RING (22U)
93210-15566-00
Unavailable
19
WASHER (3XVC)
90201-153A1-00
Unavailable
20
CIRCLIP
99006-10600-00
Unavailable
21
BOLT, HEXAGON
97013-08030-00
Unavailable
