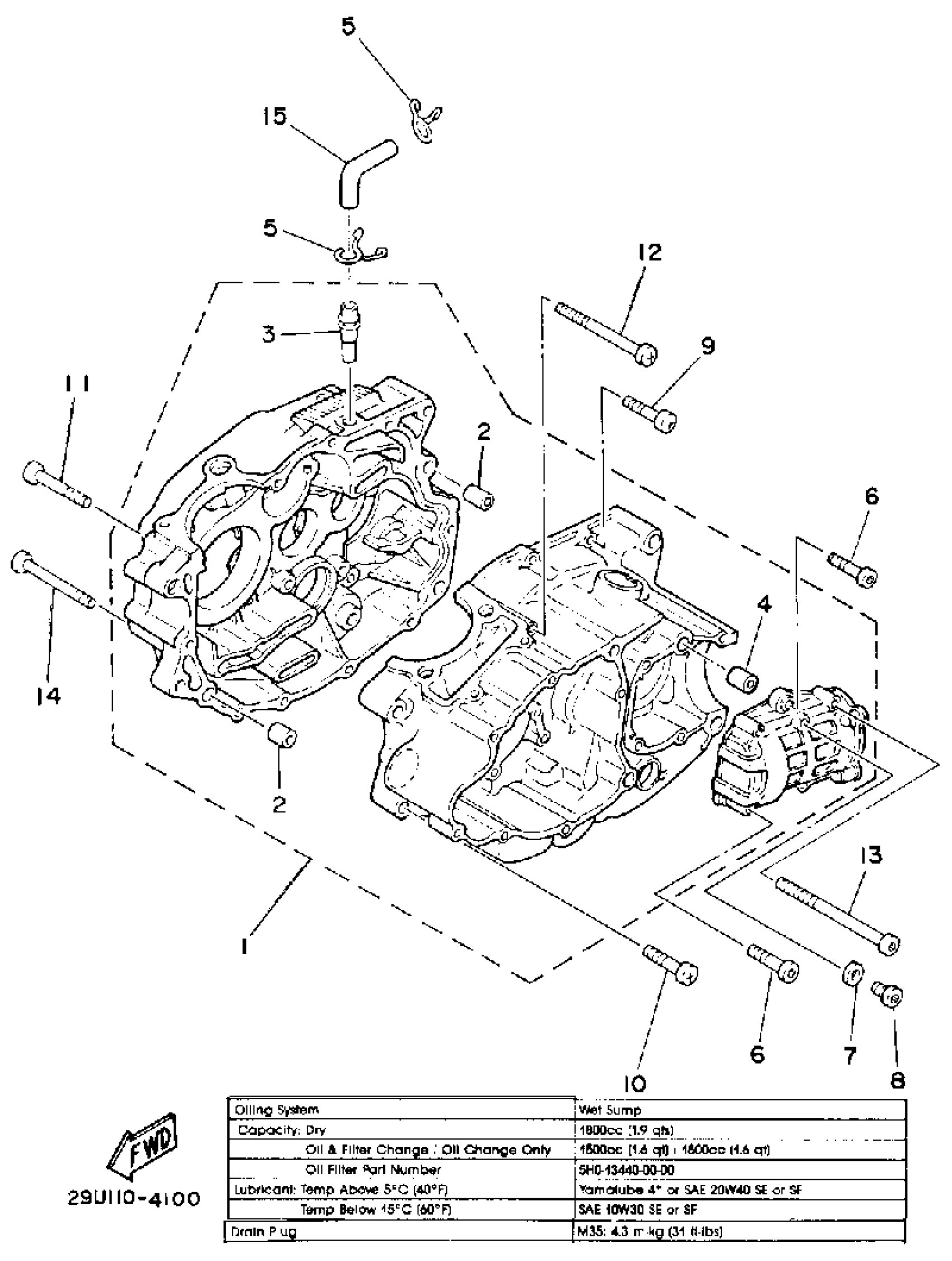
Yamaha YTM225DXN 1985 CRANKCASE Diagram
#
Description
Price
1
CRANKCASE ASSY
29U-15100-00-00
Unavailable
6
BOLT,SOCKET
91317-06035-00
Unavailable
9
SCREW, PAN HEAD(6E0)
97885-06030-00
Unavailable
11
SCREW, BIND (JH1)
98580-06560-00
Unavailable
13
BOLT
91317-06160-00
Unavailable
15
PIPE, BREATHER 1
29U-11166-00-00
Unavailable
