Yamaha YTM225DRS 1986 CARBURETOR Diagram
#
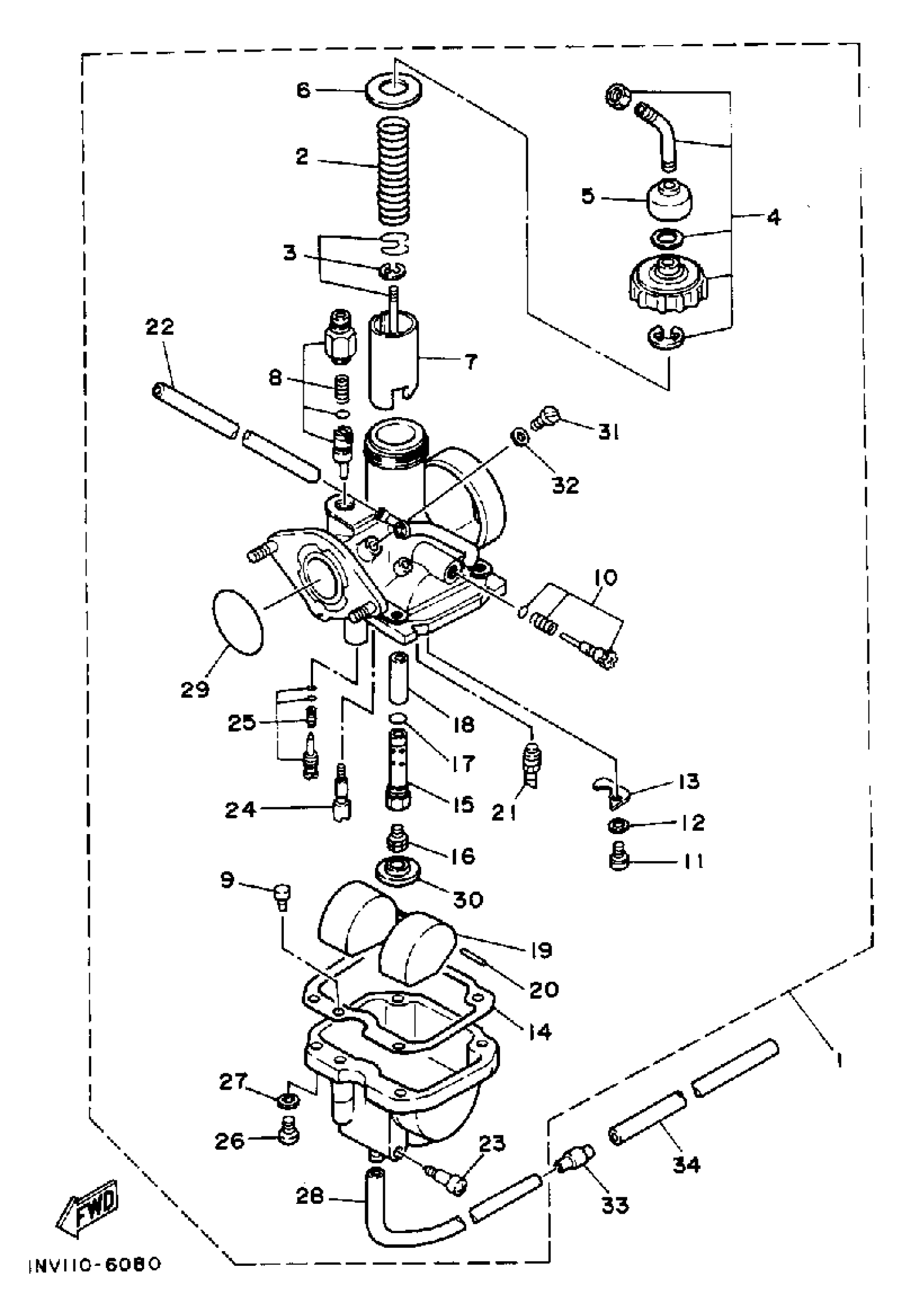
1
CARBURETOR ASSEMBLY
1NV-14101-00-00
Unavailable
2
. SPRING, THROTTLE VALVE
21V-14131-00-00
Unavailable
3
. NEEDLE SET
29U-1490J-00-00
Unavailable
4
. CABLE ADJUST SCREW SET
29U-14106-00-00
Unavailable
6
GASKET
4U5-14126-00-00
Unavailable
7
VALVE, THROTTLE 1
4BD-14112-35-00
Unavailable
9
JET, STARTER
(18M-14144-18-00)
Unavailable
13
. PLATE
59V-14146-00-00
Unavailable
15
. NOZZLE, MAIN
21V-14141-30-00
Unavailable
16
JET, MAIN (#110)
620-14231-22-A0
Unavailable
16
JET,MAIN #112.5
620-1423A-73-00
Unavailable
17
O-RING
583-14561-00-00
Unavailable
18
. JET, HOLDER
21V-14148-00-00
Unavailable
19
FLOAT
21V-14185-00-00
Unavailable
20
PIN, FLOAT
127-14186-00-00
Unavailable
21
NEEDLE VALVE ASSY
5HH-14190-18-00
Unavailable
22
PIPE, AIR VENT
59V-14197-00-00
Unavailable
23
PLUG, DRAIN
12R-14191-00-00
Unavailable
24
JET, PILOT (# 20)
22F-14142-20-00
Unavailable
25
PILOT SCREW SET
21V-14105-00-00
Unavailable
26
SCREW, PAN HEAD(GA5)
98580-04014-00
Unavailable
27
YBS67-4 WASHER, SPRING
92990-04100-00
Unavailable
28
HOSE (L1500)
90445-084J0-00
Unavailable
29
O-RING
29U-14147-00-00
Unavailable
30
WASHER, MAIN JET
5V7-14153-00-00
Unavailable
31
SCREW, PAN HEAD(6A3)
97885-06008-00
Unavailable
32
. WASHER
59V-14962-00-00
Unavailable
33
PIPE 2,OVERFLOW
24W-14193-00-00
Unavailable
34
TUBE, FLEXIBLE(3NV)
91A21-07020-00
Unavailable
