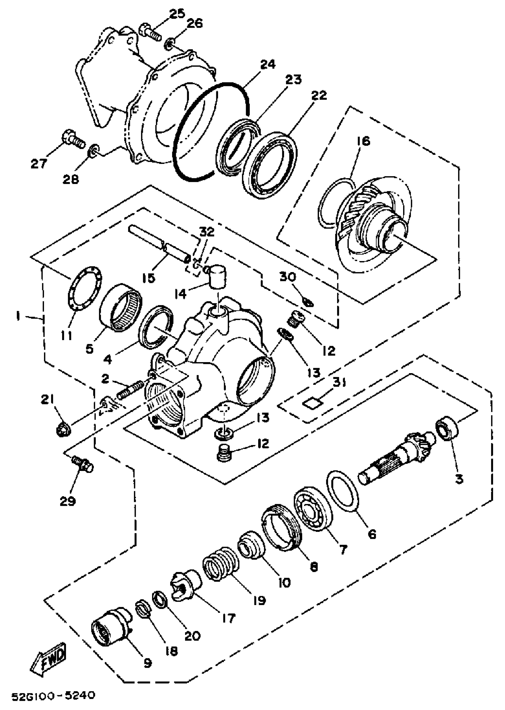
Yamaha YTM200ERN 1985 DRIVE SHAFT Diagram
#
1
RR AXL GR CASE ASSEMBLYCASE ASSEMBLY
52G-46101-01-00
Unavailable
3
. BEARING ASSY
24W-46102-00-00
Unavailable
7
BEARING(4KB)
93306-30568-00
Unavailable
8
. RETAINER, BEARING
24W-46125-00-00
Unavailable
9
. COUPLING, GEAR (52G-46123-00)
1NU-46123-00-00
Unavailable
10
. HOLDER
52G-17524-00-00
Unavailable
11
WASHER, THRUST
24W-46118-00-12
Unavailable
11
WASHER, THRUST
24W-46118-00-16
Unavailable
11
WASHER, THRUST
24W-46118-00-18
Unavailable
11
WASHER, THRUST
24W-46118-00-20
Unavailable
12
PLUG, STRAIGHT SCREW
90340-14002-00
Unavailable
13
GASKET
214-11198-01-00
Unavailable
14
BREATHER
2H7-17591-01-00
Unavailable
15
HOSE (L1700)
90445-070G6-00
Unavailable
16
. SHIM, RING GEAR (025T)
24W-46117-00-25
Unavailable
16
. SHIM, RING GEAR (030T)
24W-46117-00-30
Unavailable
16
. SHIM, RING GEAR (040T)
24W-46117-00-40
Unavailable
16
. SHIM, RING GEAR (050T)
24W-46117-00-50
Unavailable
17
CAM, DRIVEN (24W-17527-00)
24W-17527-01-00
Unavailable
18
. WASHER, THRUST
52G-17529-00-00
Unavailable
19
. SPRING, COMPRESSION
90501-655A6-00
Unavailable
20
WASHER, PLATE (2K7)
90201-17682-00
Unavailable
21
NUT, FLANGE
95704-08500-00
Unavailable
22
BEARING, CYLINDRICAL (22U)
93316-01301-00
Unavailable
23
OIL SEAL (22U)
93102-65277-00
Unavailable
24
O-RING (1J7)
93211-44348-00
Unavailable
25
BOLT (682)
97013-08025-00
Unavailable
26
.. WASHER, PLATE
92990-08600-00
Unavailable
27
BOLT(6TD)
97017-10025-00
Unavailable
28
WASHER, PLATE
92990-10600-00
Unavailable
29
BOLT, WITH WASHER
90119-10106-00
Unavailable
30
CAP, BOLT (371,447)
341-23469-00-00
Unavailable
31
LABEL, OIL CAUTION
4H7-46181-10-00
Unavailable
32
CLIP (1J7)
90467-07029-00
Unavailable
