Partiron

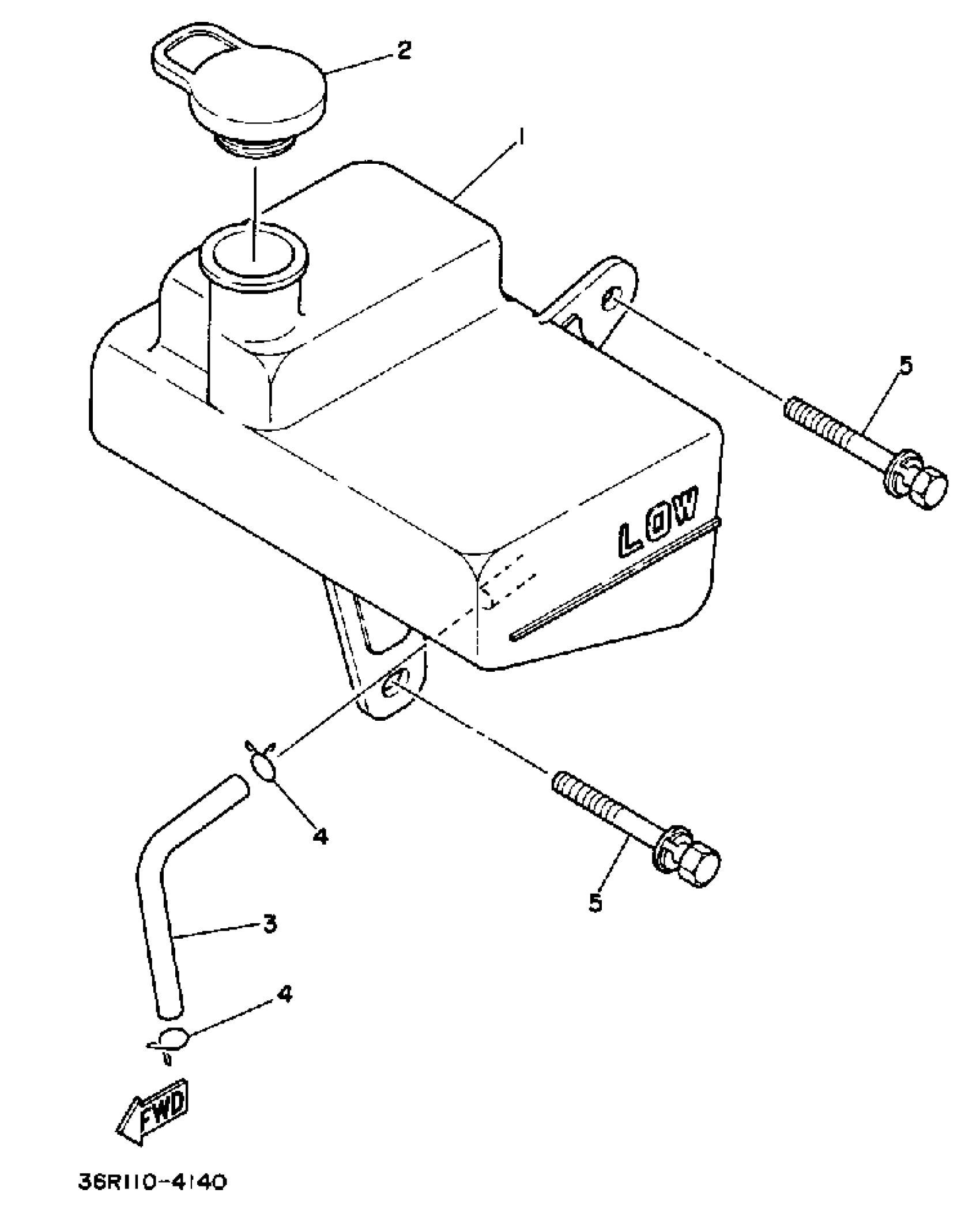
Yamaha YT60L 1984 OIL TANK Diagram

#

Description
Price

1

TANK, OIL

36R-21751-00-00

Unavailable

2

BODY, CAP

2N3-21771-02-00

$14.49

3

HOSE (L420)

90445-092K1-00

$12.49

4

CLIP 101235600

90467-08003-00

$10.49

5

BOLT, WITH WASHER

90119-06152-00

$7.49