- Partiron
- OEM Parts
- Yamaha
- motorcycle
- 1987
- YSR50T (YSR50T) 1987
STAND-FOOTREST
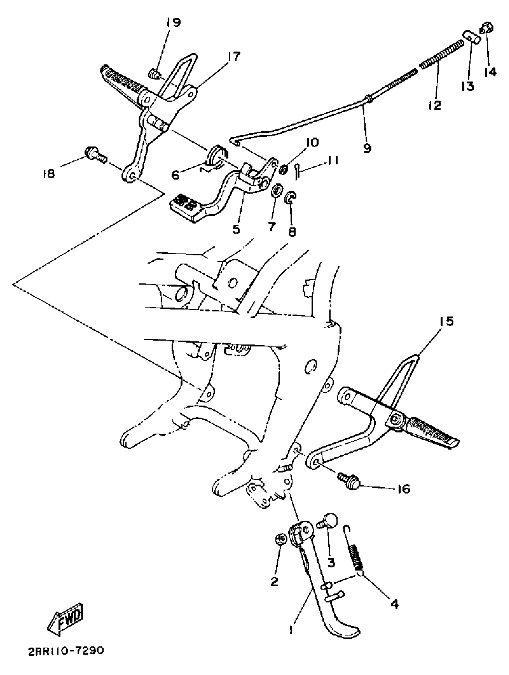
Yamaha YSR50T (YSR50T) 1987 STAND-FOOTREST Diagram
#
Description
Price
1
STAND, SIDE
2RR-27311-00-R4
Unavailable
4
SPRING, TENSION
90506-26330-00
Unavailable
5
PEDAL, BRAKE
2AL-27211-01-91
Unavailable
6
SPRING, TORSION
90508-32716-00
Unavailable
9
ROD, BRAKE
2AL-27231-00-00
Unavailable
15
FRONT FOOTREST ASSEMBLY L (LEFT)
2RR-27410-00-35
Unavailable
16
BOLT, WASHER BASED(36Y)
90105-08307-00
Unavailable
17
FRONT FOOTREST ASSEMBLY R (RIGHT)
2RR-27420-00-35
Unavailable
18
BOLT, WASHER BASED(36Y)
90105-08307-00
Unavailable
19
PLUG (17J)
90338-07124-00
Unavailable
