- Partiron
- OEM Parts
- Yamaha
- motorcycle
- 1987
- YSR50T (YSR50T) 1987
SIDE COVER
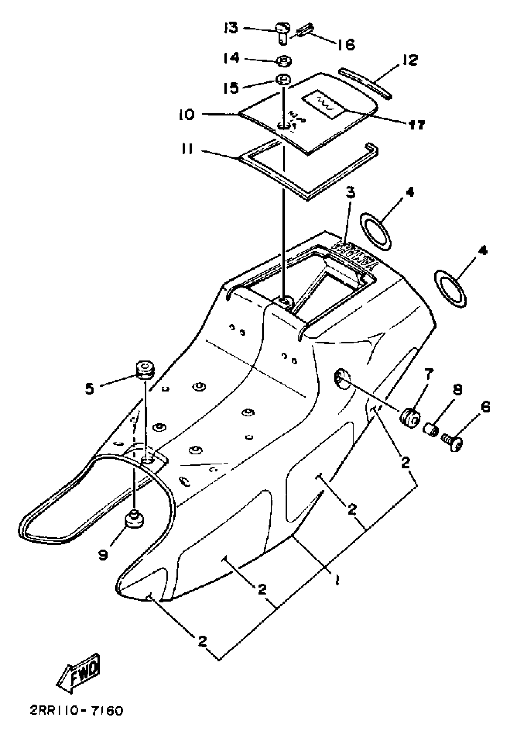
Yamaha YSR50T (YSR50T) 1987 SIDE COVER Diagram
#
Description
Price
1
SIDE COVER, COMP.
2AL-W2178-00-00
Unavailable
2
. GRAPHIC SET 1
2AL-2173L-00-00
Unavailable
3
EMBLEM, YAMAHA
99243-00080-00
Unavailable
4
COVER
2RR-2172W-01-00
Unavailable
10
LID (2AL-2177E-00)
2AL-W217E-00-00
Unavailable
11
SEAL 1
2AL-21732-00-00
Unavailable
12
SEAL 2
2AL-21735-00-00
Unavailable
16
PIN, SPRING
91690-25016-00
Unavailable
17
LABEL, WARNING 4
8H8-77764-00-00
Unavailable
