- Partiron
- OEM Parts
- Yamaha
- motorcycle
- 1991
- YSR50B (YSR50B) 1991
FRONT MASTER CYLINDER
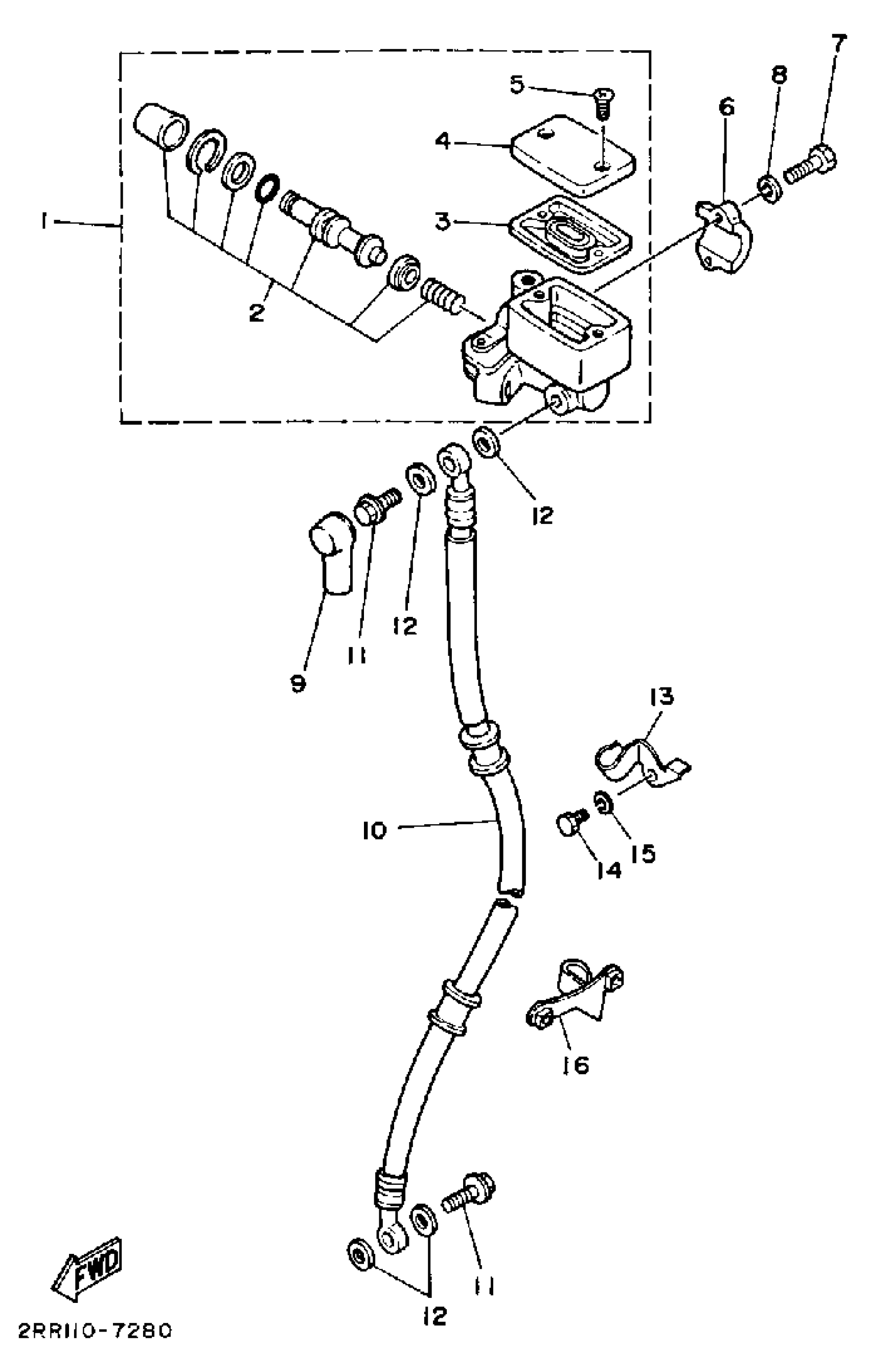
Yamaha YSR50B (YSR50B) 1991 FRONT MASTER CYLINDER Diagram
#
Description
Price
1
MSTR.CYL.SUB.ASSY.
3AX-25870-00-00
Unavailable
4
CAP, RESERVOIR (FRONT)
2KF-25852-02-00
Unavailable
10
HOSE,BRK 1
99999-02749-00
Unavailable
12
WASHER, PLATE(481)
90201-10118-00
Unavailable
13
HOLDER, BRAKE HOSE 1
2AL-25875-00-00
Unavailable
16
HOLDER,BRKE HOSE 2
2AL-25876-00-00
Unavailable
