- Partiron
- OEM Parts
- Yamaha
- motorcycle
- 1967
- YL2_100 (YL2) 166 1967
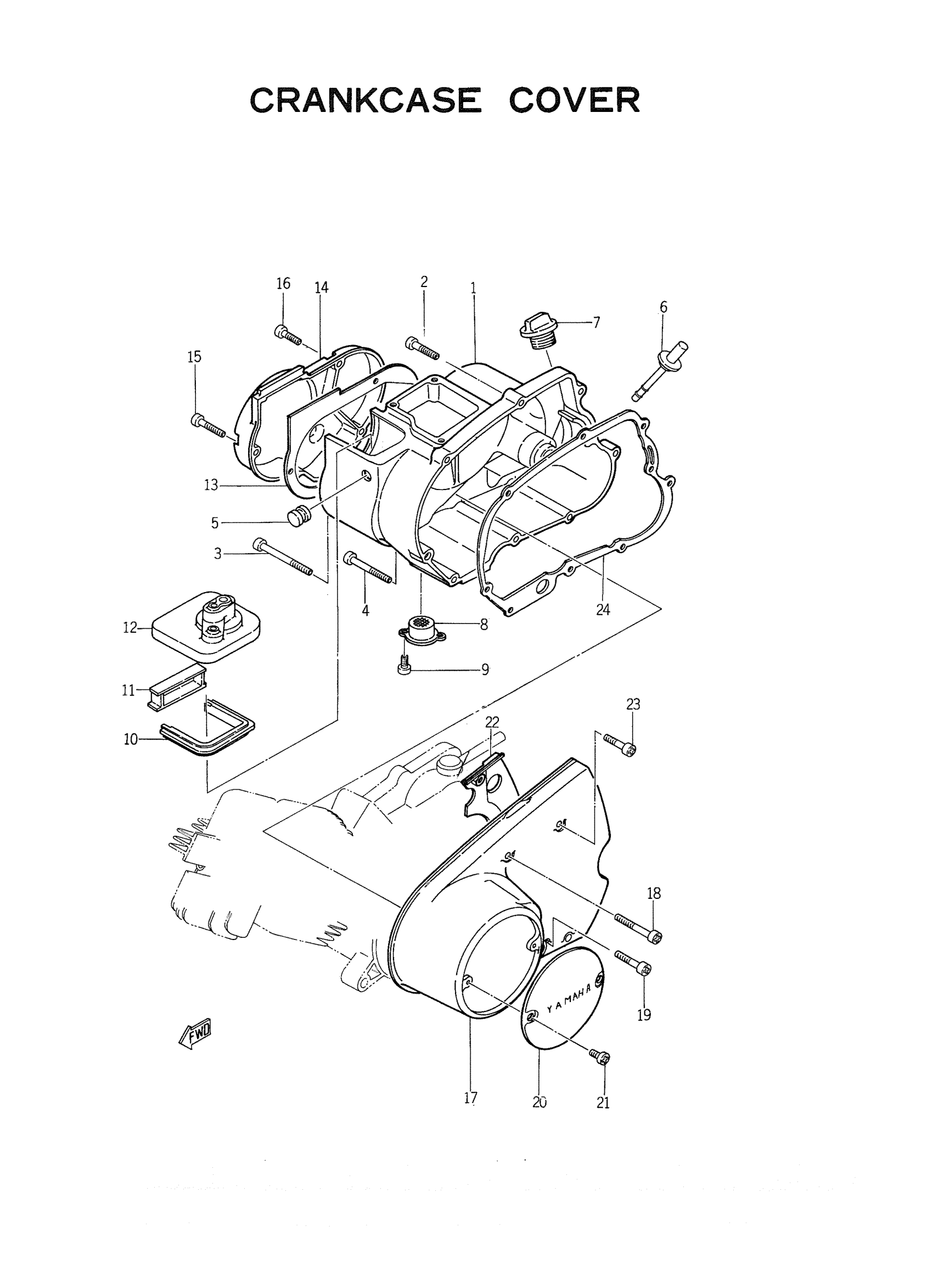
CRANKCASE COVER
Yamaha YL2_100 (YL2) 166 1967 CRANKCASE COVER Diagram
#
Description
Price
1
CRCS COVER ASSEMBLY R
164-15421-02-00
Unavailable
2
SCREW, PAN HEAD(6E0)
97885-06030-00
Unavailable
3
SCREW PAN HEAD
98580-06565-00
Unavailable
6
GAUGE, LEVEL
164-15361-00-00
Unavailable
7
PLUG, OIL
116-15363-00-00
Unavailable
8
CLEANER, DRAIN
126-15433-00-00
Unavailable
10
GUIDE, ELEMENT
164-14458-00-00
Unavailable
11
HOLDER, GUIDE
164-14459-00-00
Unavailable
12
CAP,CARBURETOR
201-14481-00-00
Unavailable
13
GASKET,CARB COVER
164-15453-09-00
Unavailable
14
COVER, CARBURETOR
164-15413-00-00
Unavailable
15
SCREW, PAN HEAD(6E0)
97885-06030-00
Unavailable
16
SCREW, PAN HEAD(6E5)
97880-06018-00
Unavailable
17
CRCS COVER ASSEMBLY L
164-15410-02-00
Unavailable
19
SCREW, PAN HEAD(6H4)
97885-06035-00
Unavailable
20
COVER, GENERATOR (1)
164-15415-00-00
Unavailable
21
SCREW, PAN HEAD
92503-04008-00
Unavailable
22
COVER, CHAIN CASE
164-15418-00-00
Unavailable
23
SCREW, PAN HEAD(6E0)
97885-06030-00
Unavailable
24
GASKET, CRCS COVER
164-15451-01-00
Unavailable
