- Partiron
- OEM Parts
- Yamaha
- motorcycle
- 1963
- YG1T (TRAILMASTER) 124 1963
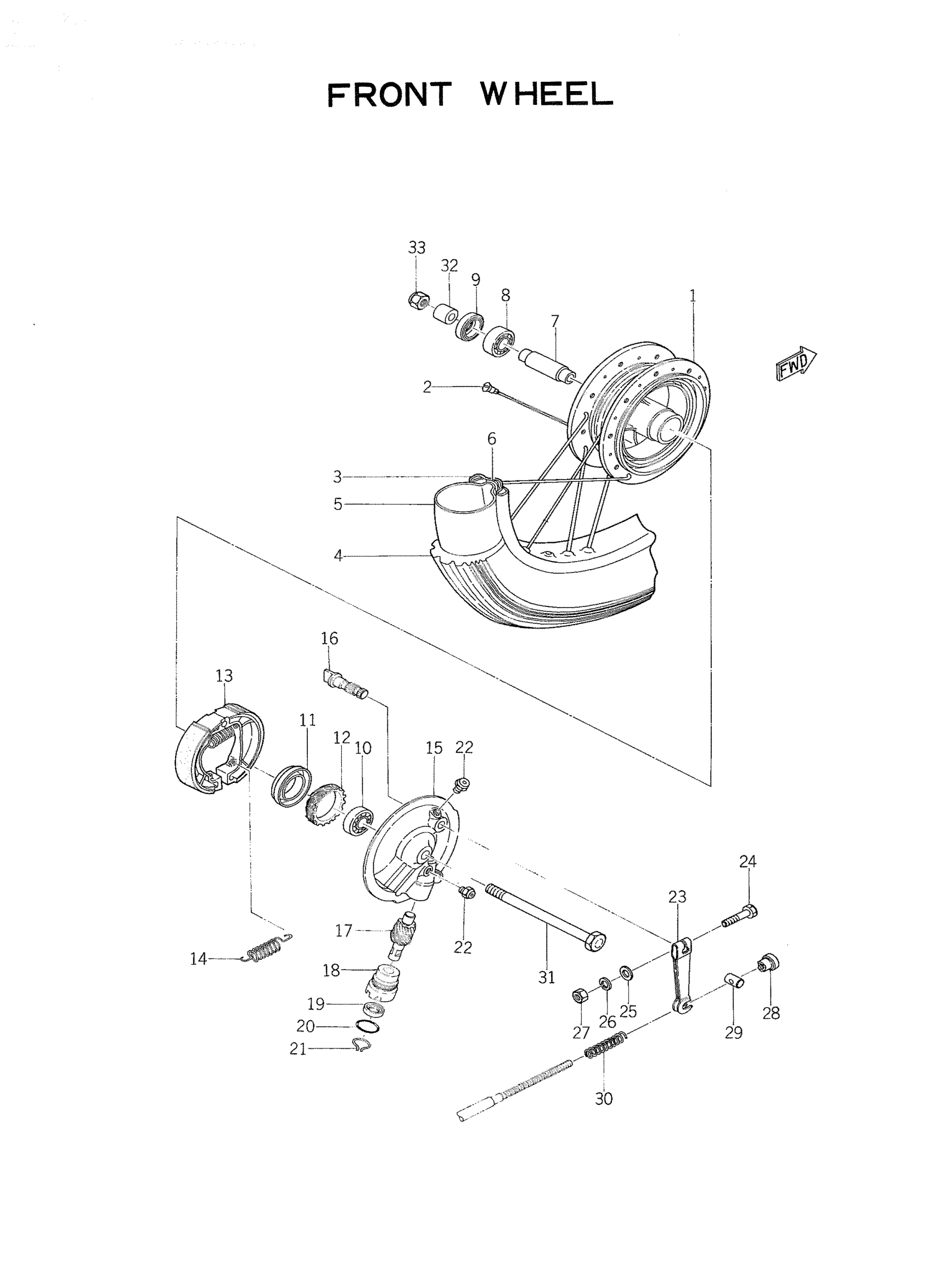
FRONT WHEEL
Yamaha YG1T (TRAILMASTER) 124 1963 FRONT WHEEL Diagram
#
Description
Price
1
HUB,FRONT
102-25111-01-38
Unavailable
2
SPOKE SET, FRONT
102-25104-00-00
Unavailable
3
RIM 1.40X16
94414-16125-00
Unavailable
4
TIRE
94125-16010-00
Unavailable
5
TUBE 250X16
94225-16048-00
Unavailable
7
SPACER, BEARING
102-25117-00-00
Unavailable
11
OIL SEAL, OS-TYPE
93107-42001-00
Unavailable
12
GEAR, DRIVE
102-25135-01-00
Unavailable
15
PLATE, BRAKE SHOE
122-25121-02-38
Unavailable
16
CAM SHAFT
122-25351-02-00
Unavailable
17
GEAR, METER
122-25138-00-00
Unavailable
18
BUSHING
109-25136-00-00
Unavailable
19
OIL SEAL (7X14X4-136)
93104-07003-00
Unavailable
20
O-RING (26H)
93210-14579-00
Unavailable
21
RING, STOP
102-25137-00-00
Unavailable
22
LEVER, CAMSHAFT 1
109-25155-00-00
Unavailable
22
NIPPLE, GREASE
93700-06M03-00
Unavailable
24
BOLT, HEXAGON
97017-06030-00
Unavailable
25
YBS66-6 WASHER, PLAIN
92990-06200-00
Unavailable
26
WASHER, SPRING
92995-06100-00
Unavailable
27
NUT, HEXAGON
95380-06600-00
Unavailable
28
NUT, SPEC''L SHAPE
90179-05150-00
Unavailable
29
PIN,SPEC'L SHAPE
90249-10101-00
Unavailable
30
SPRING, COMPRESSION
90501-08038-00
Unavailable
31
AXLE, WHEEL
99999-02188-00
Unavailable
32
COLLAR
90387-10079-00
Unavailable
33
NUT,SPEC'L SHAPE
90179-10106-00
Unavailable
