Yamaha YFZ450SPX (YFZ450 SPECIAL EDITION) 5D3E 2008 REAR BRAKE CALIPER Diagram
#
Description
Price
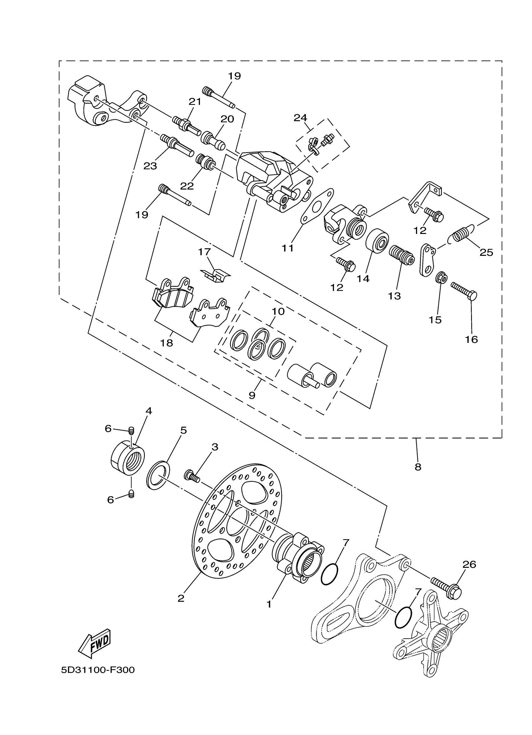
13
SHAFT L
5TG-25978-00-00
Unavailable
16
ADJUSTBOLT
5TG-25972-00-00
Unavailable
17
SPRING, PAD
3LD-25934-01-00
Unavailable
18
BRAKE PAD KIT 2
5TG-W0046-10-00
Unavailable
19
PIN, PAD
5DH-25933-00-00
Unavailable
20
BOOT 2
1UY-25937-51-00
Unavailable
21
BOLT
3SP-25914-51-00
Unavailable
22
BOOT, CALIPER
3JD-25917-00-00
Unavailable
23
BOLT
3SP-25926-51-00
Unavailable
24
BLEED SCREW KIT
36Y-W0048-00-00
Unavailable
25
SPRING, RETURN
5TG-25977-50-00
Unavailable
26
BOLT, FLANGE
90105-101A9-00
Unavailable
