- Partiron
- OEM Parts
- Yamaha
- atv
- 2011
- YFZ450RSEA (YFZ450R SPECIAL EDITION) 18PG 2011
REAR MASTER CYLINDER
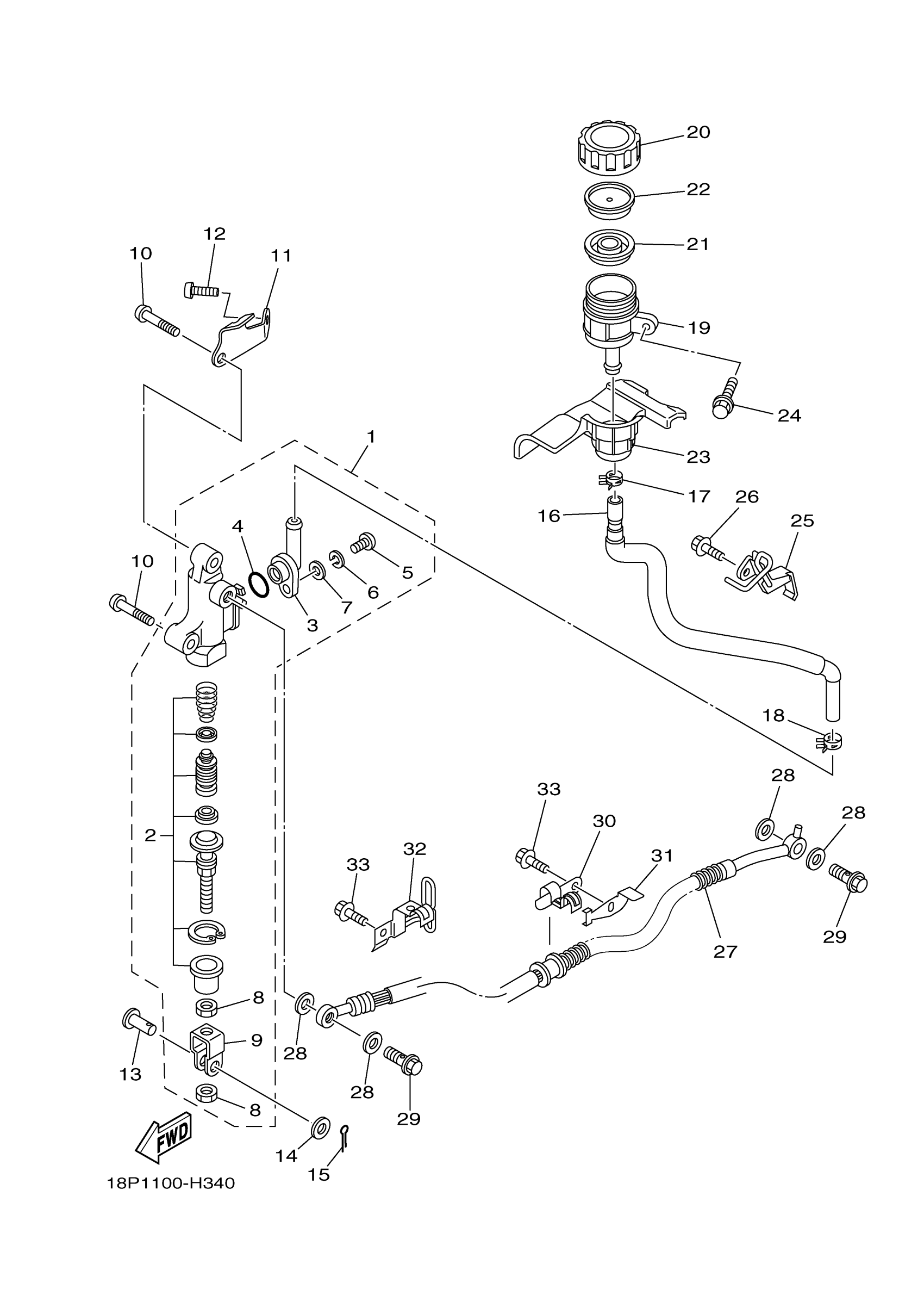
Yamaha YFZ450RSEA (YFZ450R SPECIAL EDITION) 18PG 2011 REAR MASTER CYLINDER Diagram
#
Description
Price
2
CYLINDER KIT, REAR MASTER
31A-W0042-50-00
Unavailable
3
JOINT
1AE-2582A-00-00
Unavailable
15
PIN, COTTER
91490-16020-00
Unavailable
16
HOSE, RESERVOIR
18P-25895-00-00
Unavailable
17
CLIP (7K7)
90467-11044-00
Unavailable
18
CLIP (5K4)
90467-14057-00
Unavailable
19
TANK, RESERVOIR
5JJ-25894-01-00
Unavailable
20
CAP, RESERVOIR
3XP-25852-50-00
Unavailable
21
DIAPHRAGM, RESERVOIR
2VN-25854-00-00
Unavailable
22
BUSH,DIAPHRAGM
2VN-25855-00-00
Unavailable
23
DAMPER
18P-25897-00-00
Unavailable
24
BOLT, WITH WASHER
90119-06177-00
Unavailable
25
BRACKET 1
18P-27263-00-00
Unavailable
26
BOLT, FLANGE
95022-06012-00
Unavailable
27
HOSE, BRAKE
18P-25874-00-00
Unavailable
28
WASHER, PLATE(481)
90201-10118-00
Unavailable
29
BOLT, UNION
90401-10015-00
Unavailable
30
HOLDER, BRAKE HOSE
18P-25886-00-00
Unavailable
31
STOPPER
18P-2743E-00-00
Unavailable
32
HOLDER, CABLE
18P-23317-00-00
Unavailable
33
BOLT, FLANGE
90105-06090-00
Unavailable
