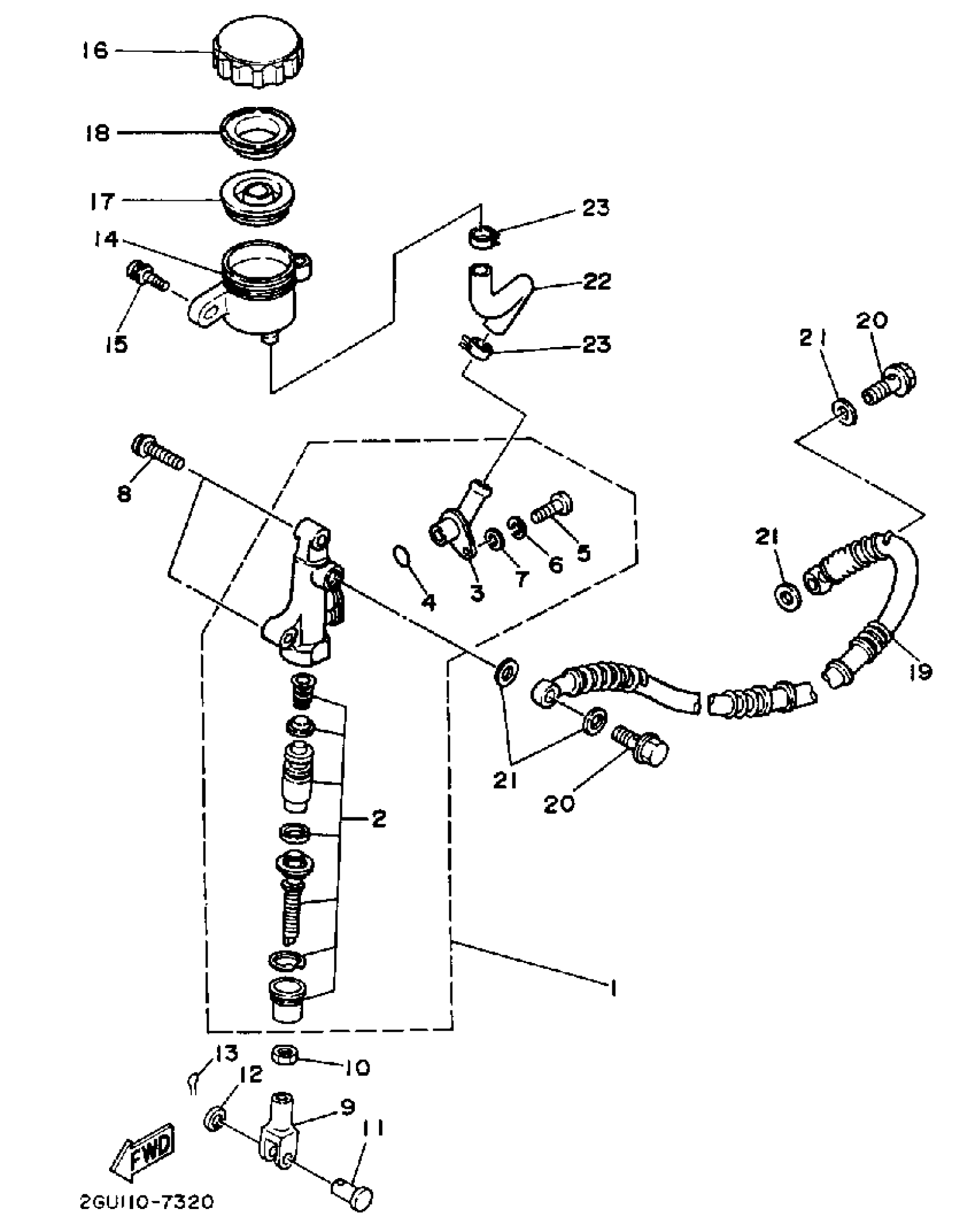
Yamaha YFZ350U (BANSHEE) 1988 REAR MASTER CYLINDER Diagram
#
Description
Price
1
MASTER CYLINDER ASSY
29L-25850-51-00
Unavailable
2
CYLINDER KIT, MASTER
4GY-W0042-00-00
Unavailable
3
CONNECTOR
29L-2582A-50-00
Unavailable
5
SCREW, PAN HEAD
98511-04012-00
Unavailable
10
. NUT
95380-08700-00
Unavailable
13
PIN, COTTER
91490-16020-00
Unavailable
16
CAP, RESERVOIR
2KF-25852-50-00
Unavailable
17
DIAPHRAGM, RESERVER
360-25854-01-00
Unavailable
18
BUSH,DIAPHRAGM
2GU-25855-00-00
Unavailable
19
HOSE, BRAKE 1
99999-02599-00
Unavailable
20
BOLT, UNION(3GM)
90401-10159-00
Unavailable
21
WASHER, PLATE(481)
90201-10118-00
Unavailable
22
HOSE, RESERVOIR
2GU-25895-00-00
Unavailable
23
CLIP (5K4)
90467-14057-00
Unavailable
