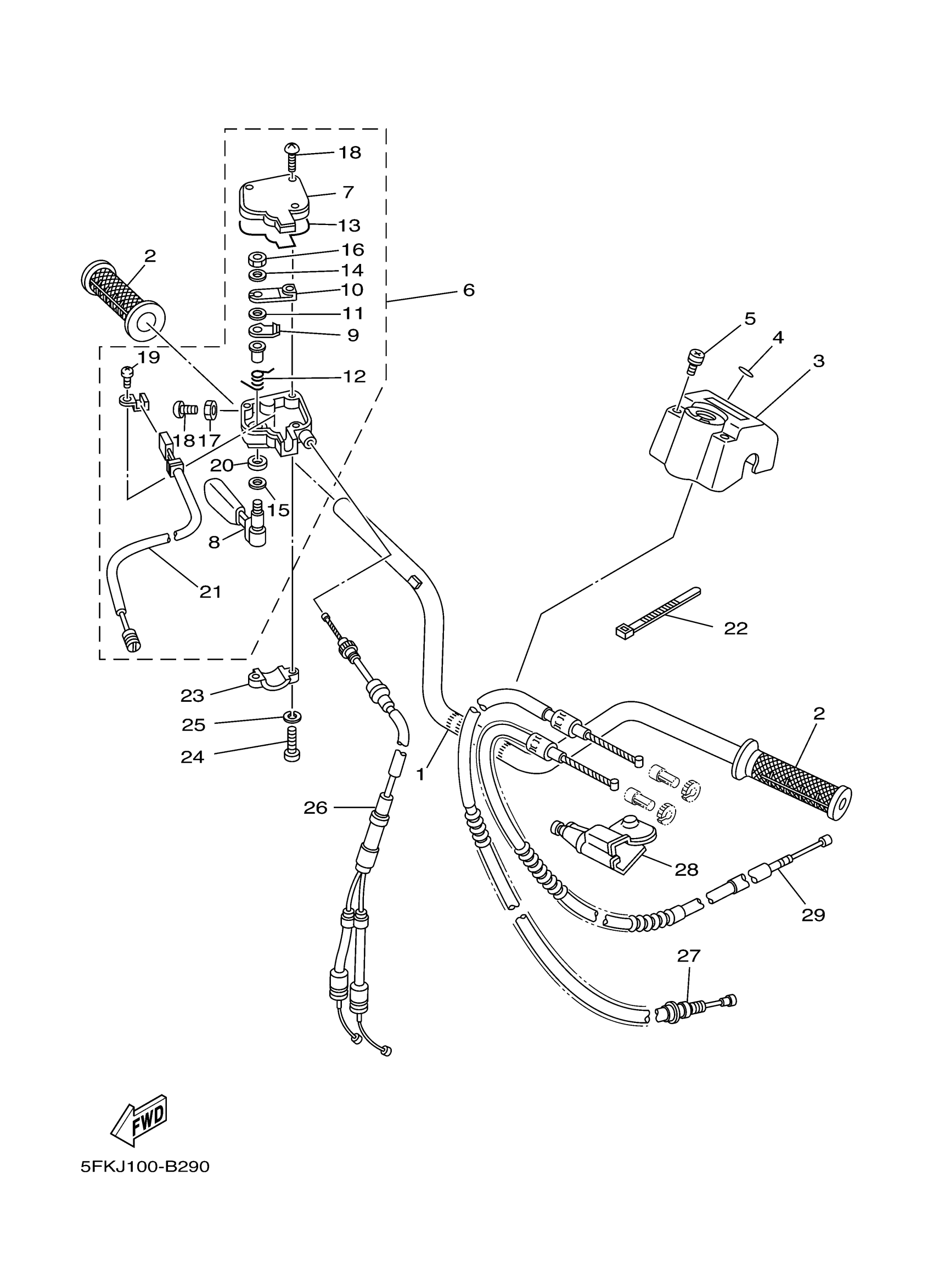
Yamaha YFZ350S (BANSHEE) 5FKP 2004 STEERING HANDLE CABLE Diagram
#
Description
Price
1
HANDLEBAR
5LP-26111-20-00
Unavailable
6
THROTTLE LEVER ASSY
3GG-26250-00-00
Unavailable
7
. CAP, GEAR
2GU-2628F-00-00
Unavailable
11
COLLAR
2GU-26259-00-00
Unavailable
12
SPRING
2GU-26314-00-00
Unavailable
16
NUT, U
95617-05100-00
Unavailable
17
NUT, HEXAGON SMALL
95317-05700-00
Unavailable
18
SCREW, PAN HEAD
98517-05020-00
Unavailable
19
SCREW, BINDING
98907-03006-00
Unavailable
20
OIL SEAL (9X15X4-256)
93104-09025-00
Unavailable
21
SWITCH, THROTTLE
3GG-82567-00-00
Unavailable
22
BAND, SWITCH CORD
437-83936-01-00
Unavailable
23
HOLDER, LEVER LOWER
4V4-82913-00-00
Unavailable
24
SCREW, PAN HEAD
98517-05020-00
Unavailable
25
WASHER(3SX)
92907-05100-00
Unavailable
26
CABLE ASSY, THROTTLE & PUMP
2GU-26260-02-00
Unavailable
27
CABLE, CLUTCH
5FK-26335-00-00
Unavailable
28
COVER, HANDLE LEVER 2
1UY-2637A-01-00
Unavailable
29
WIRE, BRAKE 1
1UY-26341-10-00
Unavailable
