Yamaha YFZ350S (BANSHEE) 5FKP 2004 REAR MASTER CYLINDER Diagram
#
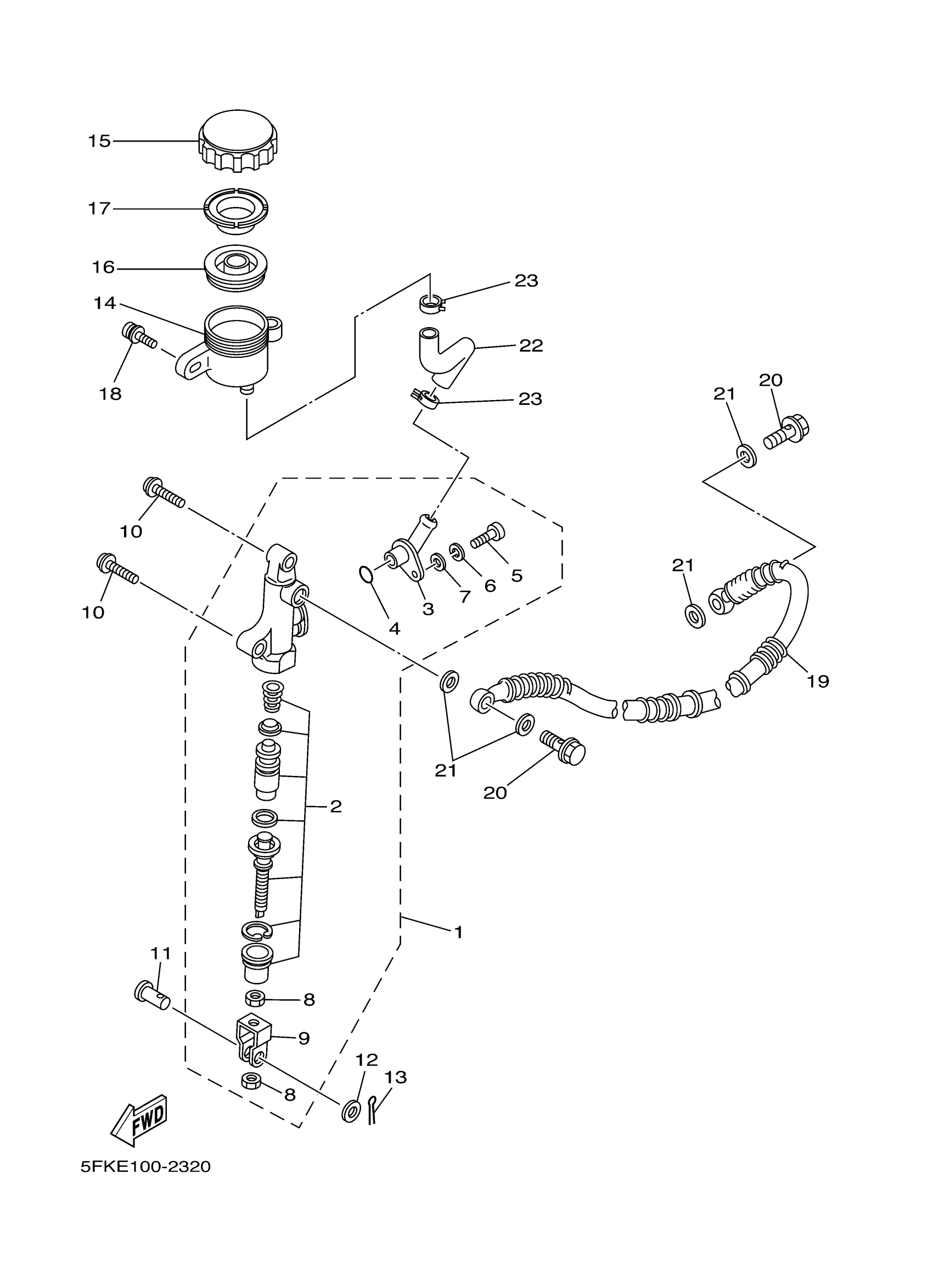
Description
Price
2
CYLINDER KIT, MASTER
5FK-W0042-50-00
Unavailable
3
CONNECTOR
29L-2582A-50-00
Unavailable
5
SCREW, PAN HEAD
98511-04012-00
Unavailable
13
PIN, COTTER
91490-16020-00
Unavailable
16
DIAPHRAGM, RESERVER
360-25854-01-00
Unavailable
17
BUSH,DIAPHRAGM
2GU-25855-00-00
Unavailable
18
SCREW, WITH WASHER (5U8)
90159-06056-00
Unavailable
19
HOSE, BRAKE
3GG-25874-10-00
Unavailable
20
BOLT, UNION(3GM)
90401-10159-00
Unavailable
21
WASHER, PLATE(481)
90201-10118-00
Unavailable
22
HOSE, RESERVOIR
2GU-25895-00-00
Unavailable
23
CLIP (5K4)
90467-14057-00
Unavailable
