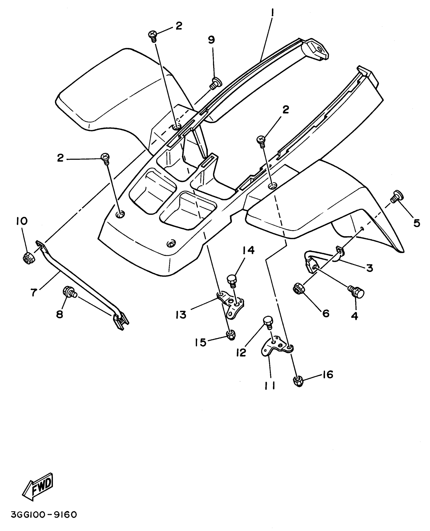
Yamaha YFZ350H_MNH (BANSHEE) 1996 FRONT FENDER Diagram
#
Description
Price
1
FENDER,FRONT
2GU-21511-30-00
Unavailable
1
FENDER,FRONT
2GU-21511-60-00
Unavailable
11
STAY 1
2GU-21587-10-00
Unavailable
