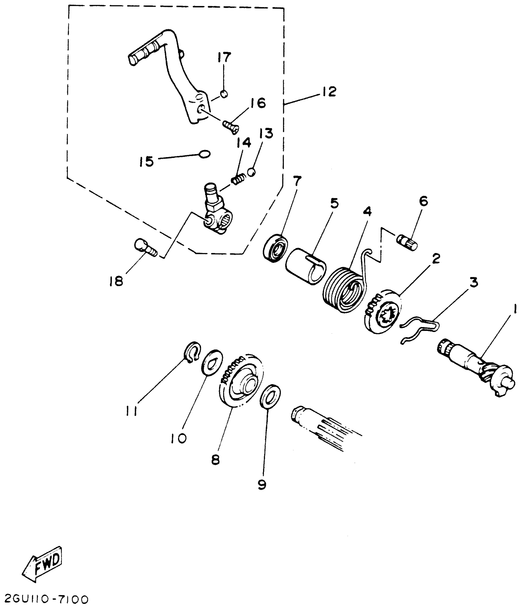
Yamaha YFZ350F_MNH (BANSHEE) 1994 STARTER Diagram
#
Description
Price
1
KICK AXLE ASSY
4L0-15660-01-00
Unavailable
2
GEAR, KICK
4L0-15641-00-00
Unavailable
16
SCREW, COUNTERSUNK (5Y1)
90152-06010-00
Unavailable
17
PLUG, TAPER(2GU)
90336-42049-00
Unavailable
18
BOLT, HEXAGON
97017-08030-00
Unavailable
