Partiron

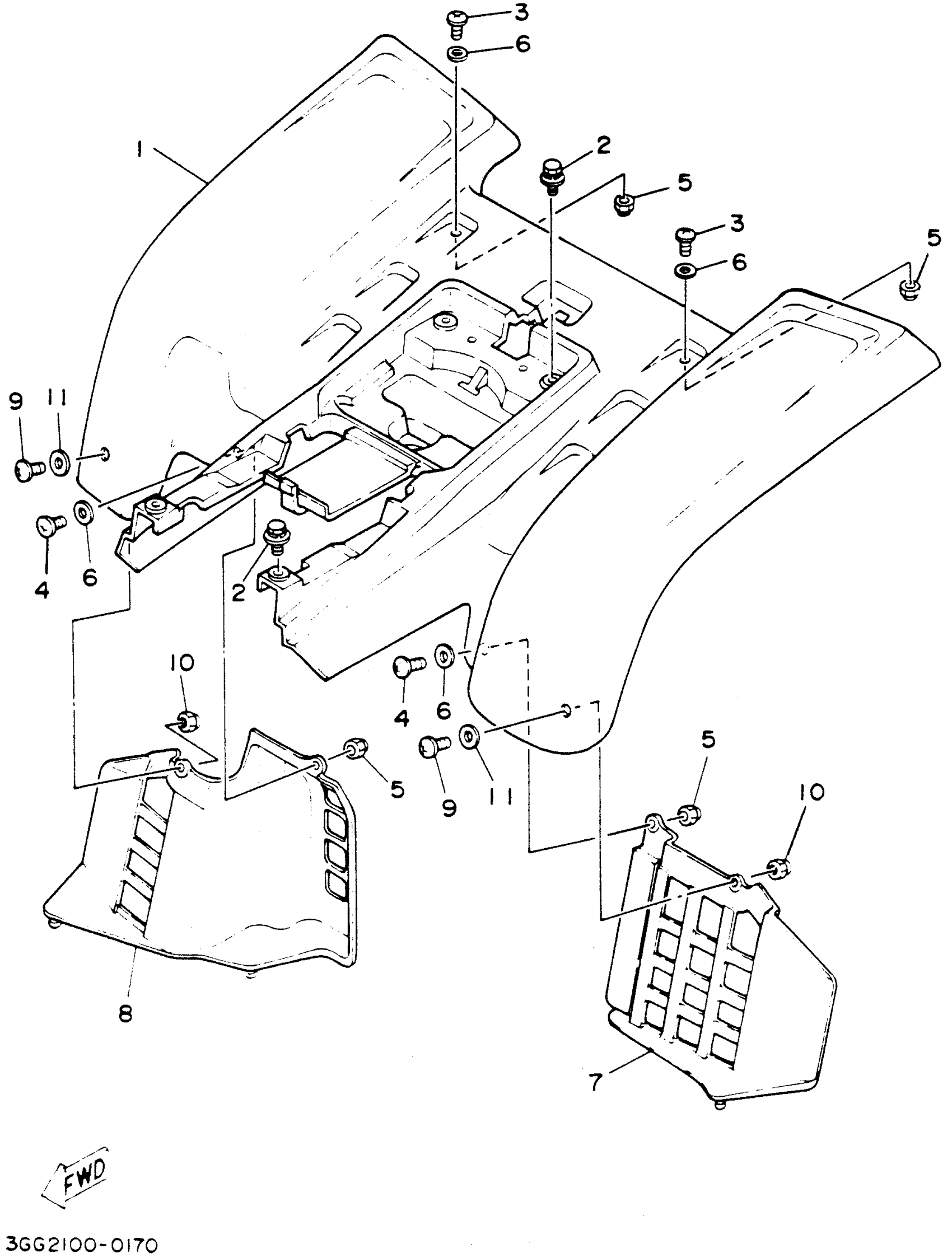
Yamaha YFZ350F_MNH (BANSHEE) 1994 REAR FENDER Diagram

#

Description
Price

1

FENDER,REAR

2GU-W2161-41-00

Unavailable

2

BOLT, WITH WASHER

90119-06152-00

$7.49

3

SCREW(3JM)

90149-06306-00

$8.49

4

SCREW, ROUND HEAD(3JM)

90150-06037-00

$9.49

5

NUT, SELF-LOCKING

95617-06100-00

$8.49

6

YBS66-6 WASHER, PLAIN

92990-06200-00

$3.78

7

FLAP

3GG-21691-00-00

$83.99

8

FLAP

3GG-21621-00-00

$83.99

9

SCREW(3JM)

90149-06306-00

$8.49

10

NUT, SELF-LOCKING

95617-06100-00

$8.49

11

YBS66-6 WASHER, PLAIN

92990-06200-00

$3.78