Yamaha YFZ350F_MNH (BANSHEE) 1994 CRANKCASE Diagram
#
Description
Price
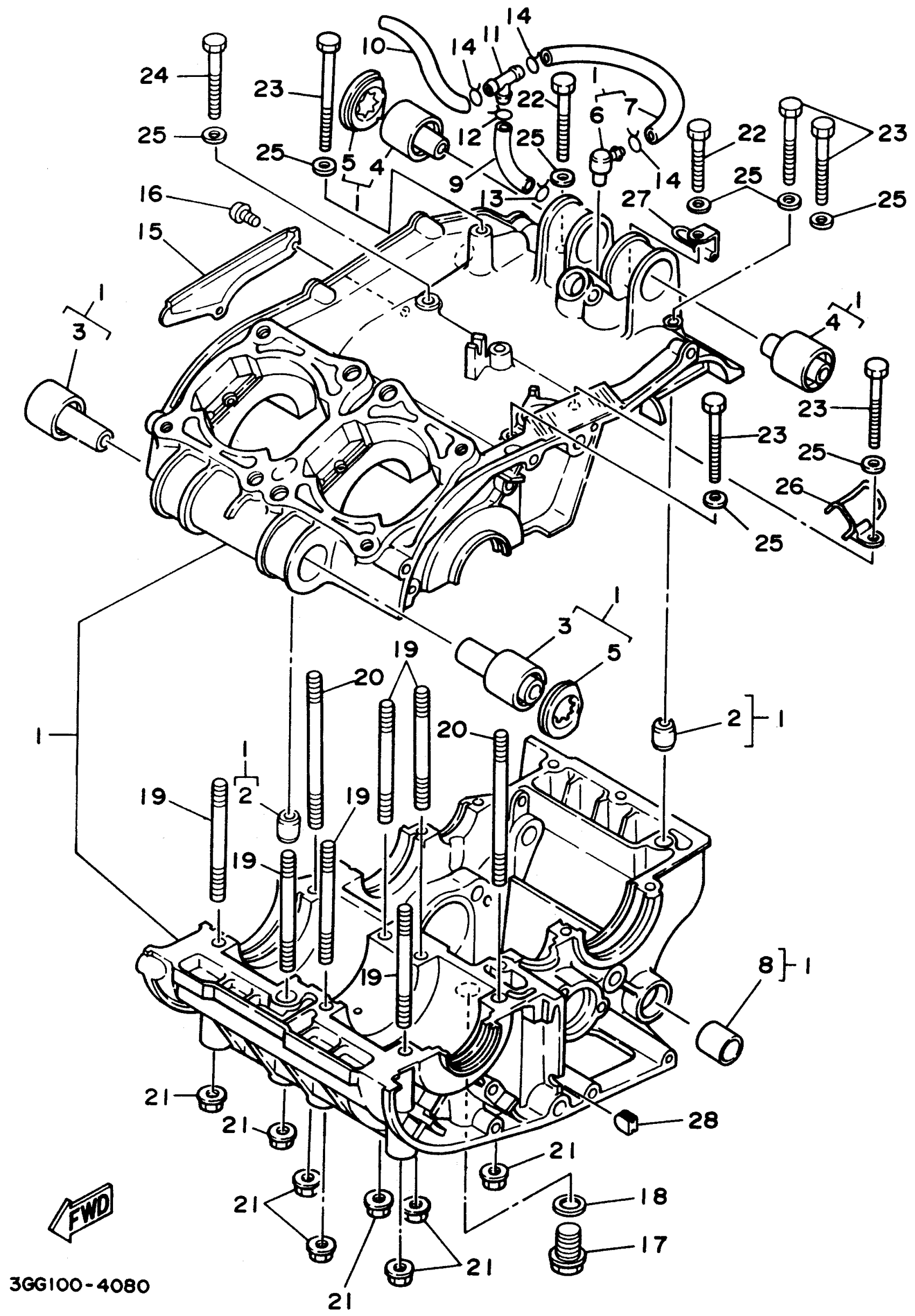
9
HOSE (L508)
90445-081F1-00
Unavailable
11
WAY 3(33M)
90413-05014-00
Unavailable
16
SCREW, PAN HEAD(62X)
97885-05010-00
Unavailable
17
BOLT
90109-14385-00
Unavailable
18
GASKET 256131670000
90430-14043-00
Unavailable
19
BOLT (248-11361-00)
90116-08064-00
Unavailable
20
BOLT, STUD (1A1)
90116-08232-00
Unavailable
21
NUT, FLANGE
95704-08500-00
Unavailable
22
BOLT, HEXAGON
97017-06045-00
Unavailable
23
BOLT(3GG)
97017-06060-00
Unavailable
24
BOLT(3GG)
97017-06090-00
Unavailable
25
YBS66-6 WASHER, PLAIN
92990-06200-00
Unavailable
26
CLAMP (29L)
90462-16130-00
Unavailable
27
CLAMP (1A0)
90465-06094-00
Unavailable
28
PLUG(2GU)
90338-06190-00
Unavailable
