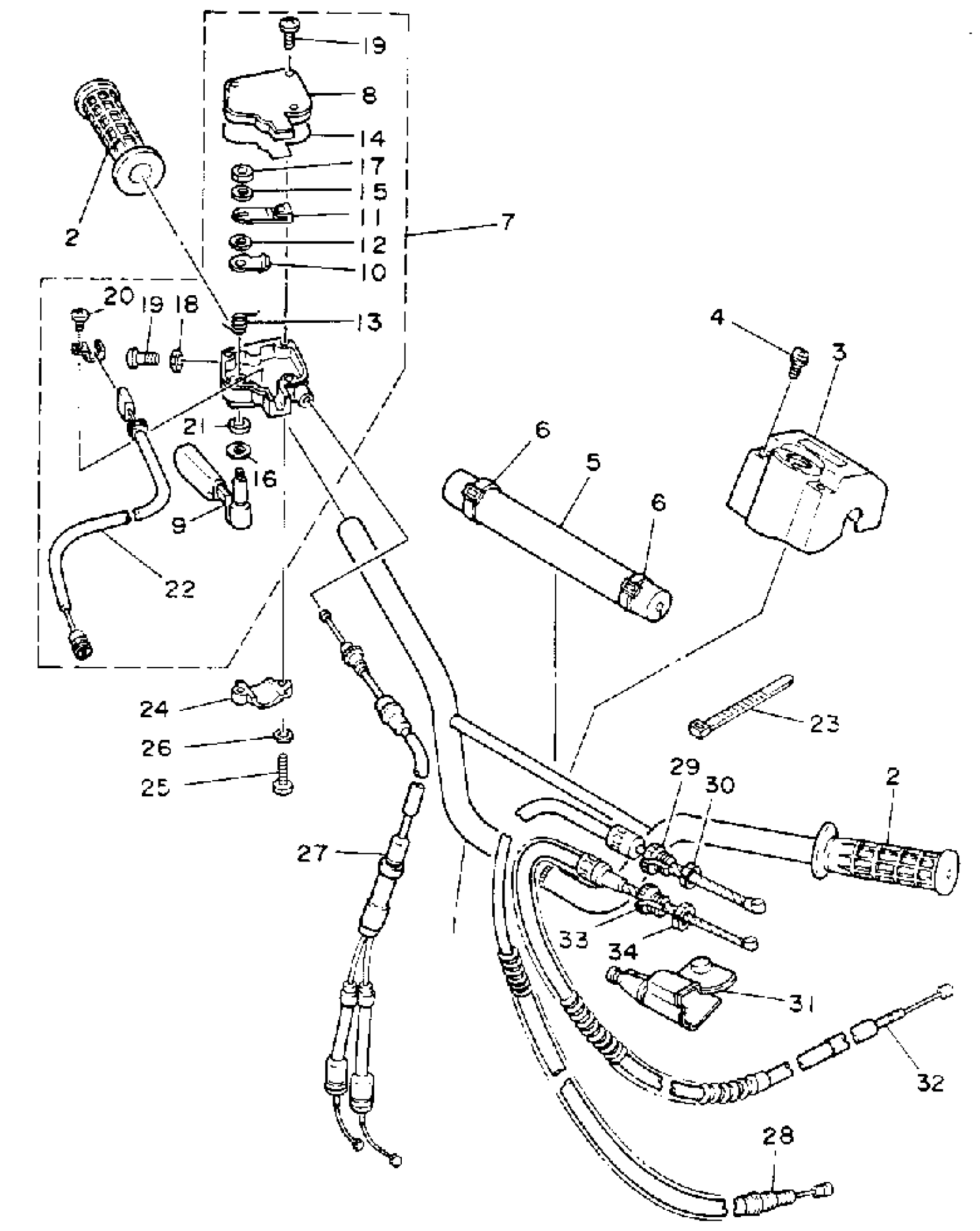
Yamaha YFZ350D_MNH (BANSHEE) 1992 HANDLEBAR-CABLE Diagram
#
Description
Price
1
HANDLEBAR
2GU-26111-00-00
Unavailable
5
PROTECTOR 1
3GD-2622K-00-00
Unavailable
7
THROTTLE LEVER ASSEMBLY
2GU-26250-01-00
Unavailable
8
. CAP, GEAR
2GU-2628F-00-00
Unavailable
12
COLLAR
2GU-26259-00-00
Unavailable
13
SPRING
2GU-26314-00-00
Unavailable
16
WASHER
1NV-26129-00-00
Unavailable
17
NUT, U
95617-05100-00
Unavailable
18
NUT, HEXAGON SMALL
95317-05700-00
Unavailable
19
SCREW, PAN HEAD
98517-05020-00
Unavailable
20
SCREW, BINDING
98907-03006-00
Unavailable
21
OIL SEAL (9X15X4-256)
93104-09025-00
Unavailable
22
. SWITCH, THROTTLE
2GU-82567-00-00
Unavailable
24
HOLDER, LEVER LOWER
4V4-82913-00-00
Unavailable
25
SCREW, PAN HEAD
98517-05020-00
Unavailable
26
WASHER(3SX)
92907-05100-00
Unavailable
27
CABLE ASSY, THROTTLE & PUMP
2GU-26260-02-00
Unavailable
28
CABLE, CLUTCH
2GU-26335-01-00
Unavailable
29
BOLT
90123-08002-00
Unavailable
30
NUT
90179-08030-00
Unavailable
31
COVER, HANDLE LEVER 2
1UY-2637A-01-00
Unavailable
32
WIRE, BRAKE 1
1UY-26341-10-00
Unavailable
33
BOLT
90123-08002-00
Unavailable
34
NUT
90179-08030-00
Unavailable
