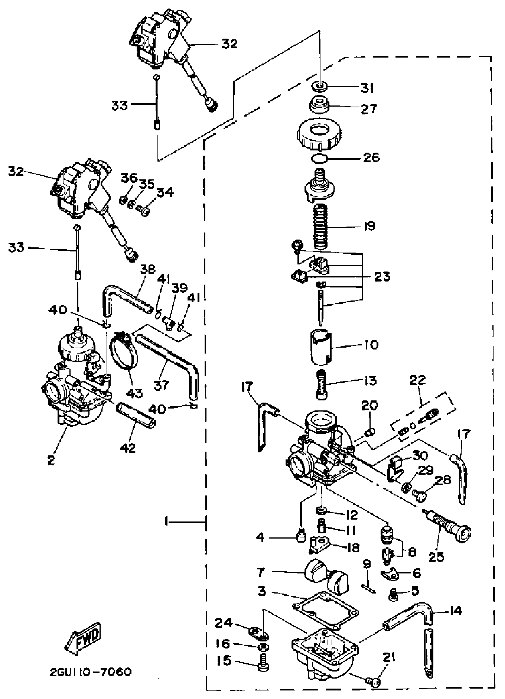
Yamaha YFZ350B_MNH (BANSHEE) 1991 CARBURETOR Diagram
#
6
. PLATE
2H0-14146-00-00
Unavailable
10
VALVE, THROTTLE 1
2GU-14112-20-00
Unavailable
10
VALVE, THROTTLE 2
2GU-14113-20-00
Unavailable
11
JET,MAIN #190
137-14143-38-A0
Unavailable
12
WASHER,MAIN JET
137-14153-00-00
Unavailable
13
NOZZLE, MAIN
4L0-14141-38-00
Unavailable
14
HOSE (L1500)
90445-084J0-00
Unavailable
15
SCREW, PAN HEAD
98517-04016-00
Unavailable
16
YBS67-4 WASHER, SPRING
92990-04100-00
Unavailable
17
PIPE
4L0-14197-00-00
Unavailable
18
RING
2GU-14153-00-00
Unavailable
19
SPRING, THROTTLE VALVE
2GU-14131-00-00
Unavailable
20
PILOT JET, AIR (#1.6)
239-14172-16-00
Unavailable
21
PLUG, DRAIN
12R-14191-00-00
Unavailable
22
AIR SCREW SET
10W-14104-00-00
Unavailable
23
NEEDLE SET
2GU-1490J-00-00
Unavailable
24
PLATE
500-14146-00-00
Unavailable
25
PLUNGER, STARTER
2GU-14171-00-00
Unavailable
26
O-RING (541)
558-14147-00-00
Unavailable
27
. NUT, CABLE ADJUSTING
2GU-14161-00-00
Unavailable
28
SCREW, PAN HEAD(62X)
97885-05010-00
Unavailable
29
YBS67-5 WASHER, SPRING
92990-05100-00
Unavailable
30
PLATE
2GU-14146-00-00
Unavailable
30
PLATE
2GU-14243-00-00
Unavailable
31
WASHER
256-14954-00-00
Unavailable
32
SWITCH ASSY
2GU-8259E-02-00
Unavailable
33
WIRE, INNER 1
2GU-2633K-00-00
Unavailable
34
SCREW PAN HEAD
98580-03010-00
Unavailable
35
WASHER, SPRING
92990-03100-00
Unavailable
36
WASHER(3SX)
92907-03600-00
Unavailable
37
PIPE, FUEL 1
29L-24311-00-00
Unavailable
38
PIPE, FUEL 1
48H-24311-00-00
Unavailable
39
WAY 3(7U6)
90413-08009-00
Unavailable
40
CLIP
90467-100A1-00
Unavailable
41
CLIP(1JH)
90467-11106-00
Unavailable
42
HOSE (L420)
90445-092K1-00
Unavailable
43
CLAMP HOSE 278144550000
90460-49058-00
Unavailable
