Partiron

Yamaha YFZ05YYXTL (YFZ50) BW4X 2026 VALVE Diagram

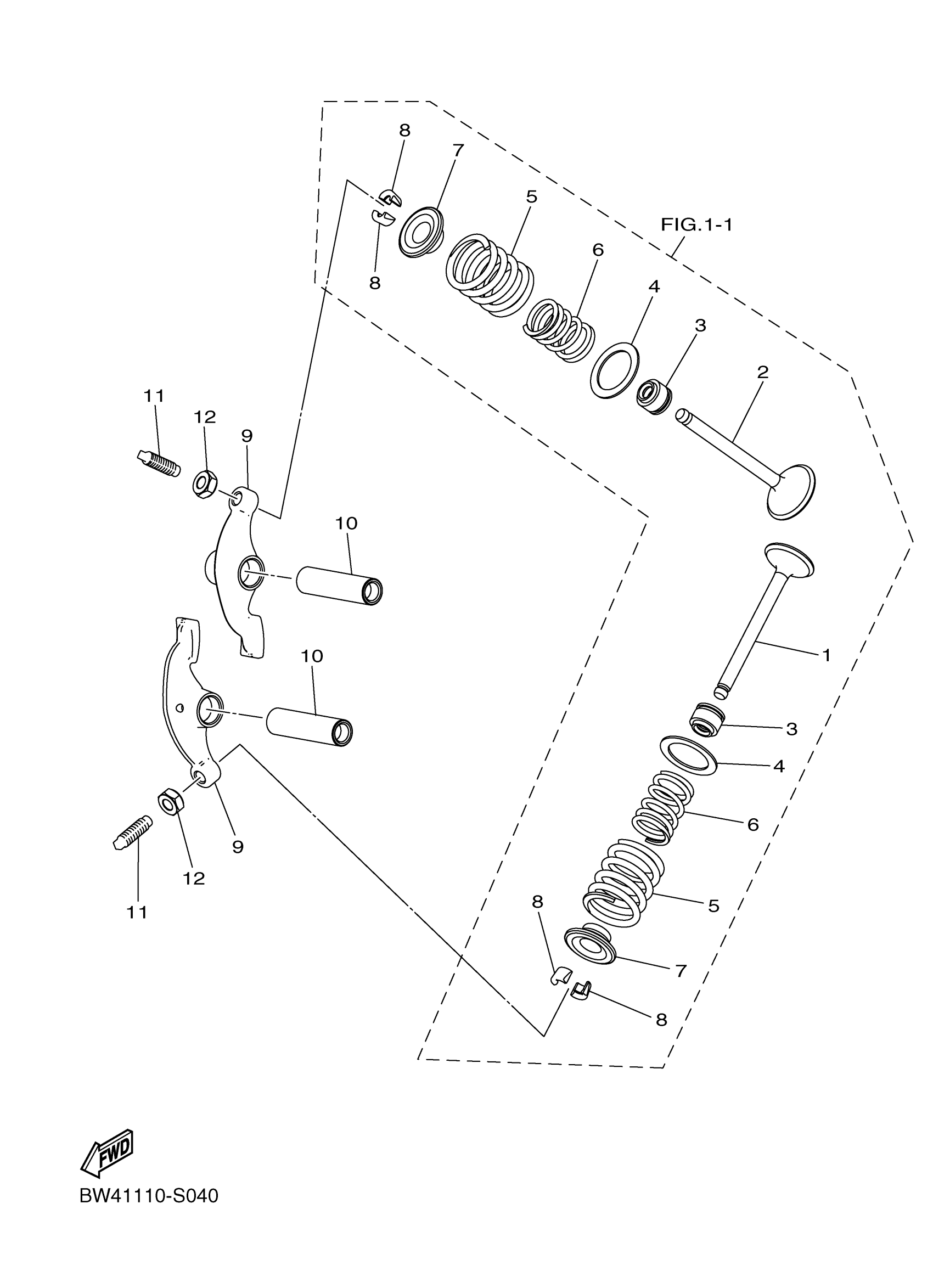
#

Description
Price

1

VALVE, EXHAUST

BW4-E2121-00-00

Unavailable

2

VALVE, INTAKE

BW4-E2111-00-00

$50.99

3

SEAL, VALVE STEM

BD3-E2119-00-00

$7.49

4

SEAT, VALVE SPRING

BD3-E2116-00-00

$2.22

5

SPRING, VALVE 1

BD3-E2113-00-00

$10.49

6

SPRING, VALVE 2

BD3-E2114-00-00

$8.49

7

RETAINER, VALVE SPRING

BD3-E2117-00-00

$12.49

8

LOCK, VALVE SPRING RETAINER

BD3-E2118-00-00

$3.35

9

ARM, VALVE ROCKER

BD3-E2151-00-00

$29.99

10

SHAFT, ROCKER

BD3-E2146-00-00

$7.49

11

SCREW, VALVE ADJUSTING

BD3-E2159-00-00

$8.49

12

NUT, LOCK

BD3-E2158-00-00

$3.61