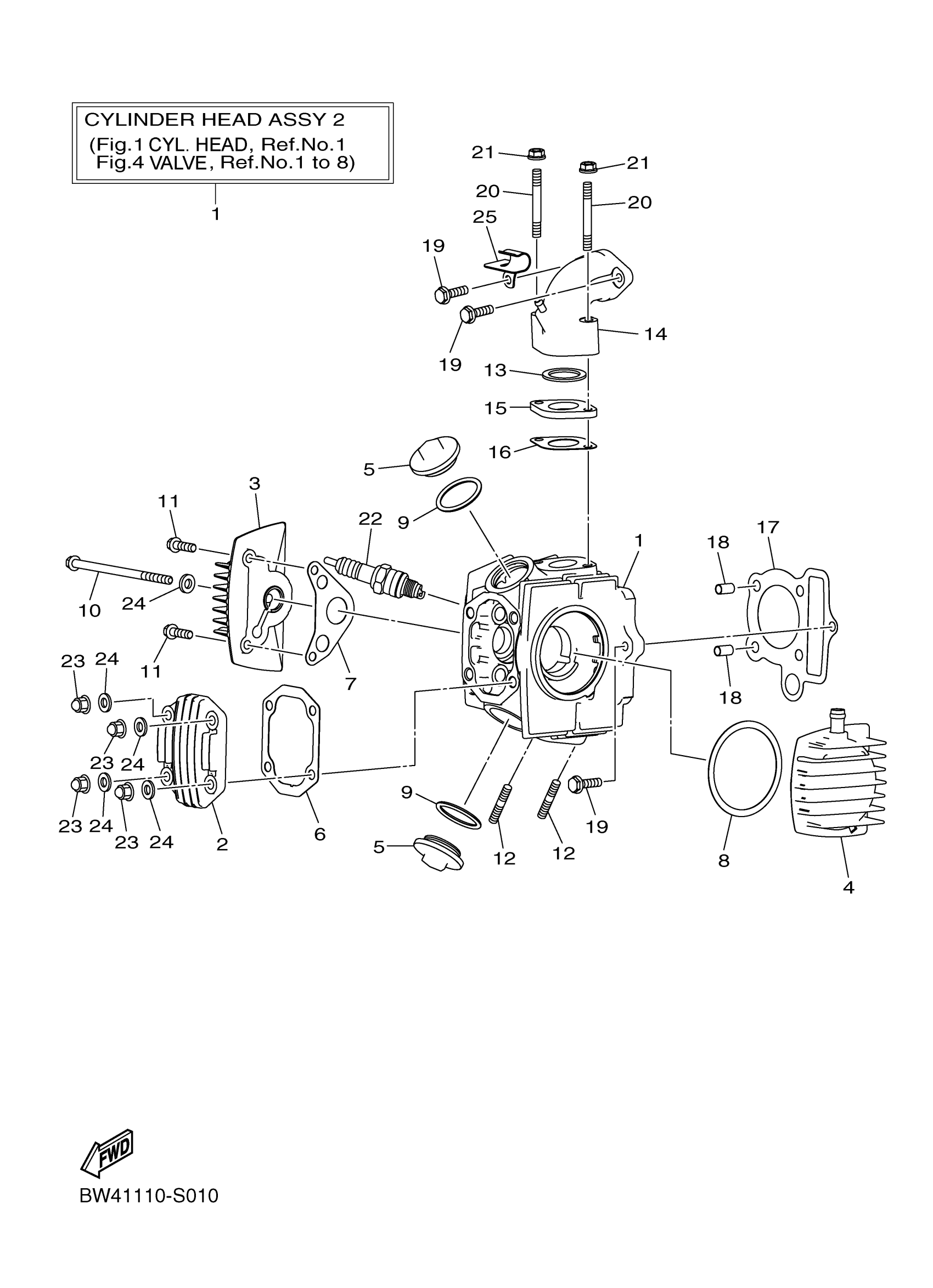
Yamaha YFZ05YYXKW (YFZ50) BW481 2019 CYLINDER HEAD Diagram
#
Description
Price
1
CYLINDER HEAD ASSY 2
BW4-E1103-00-00
Unavailable
3
COVER, CYLINDER HEAD 3
BD3-E112E-00-00
Unavailable
4
COVER, CYLINDER HEAD 1
BYS-E1191-10-00
Unavailable
7
GASKET, HEAD COVER 2
BD3-E1194-20-00
Unavailable
12
BOLT, STUD
BW4-E1179-00-00
Unavailable
14
JOINT, CARBURETOR 1
BW4-E3586-00-00
Unavailable
15
INSULATOR
BW4-E4271-00-00
Unavailable
16
GASKET, MANIFOLD
BW4-E3556-00-00
Unavailable
17
GASKET, CYLINDER HEAD 1
BW4-E1181-00-00
Unavailable
18
PIN, DOWEL
BD3-E3516-00-00
Unavailable
19
BOLT
BD3-E2157-10-00
Unavailable
20
BOLT, STUD 1
BD3-E1391-10-00
Unavailable
21
NUT
BD3-F1494-10-00
Unavailable
22
CR6HS-A NGK SPLUG 4PK
CR6-HSA00-00-00
Unavailable
23
NUT
BD3-E4439-10-00
Unavailable
24
WASHER
BD3-E3318-00-00
Unavailable
25
RETAINER
BW4-E5689-00-00
Unavailable
