Yamaha YFU1W (PRO-4 PRO HAULER) 1989 STAND - FOOTREST Diagram
#
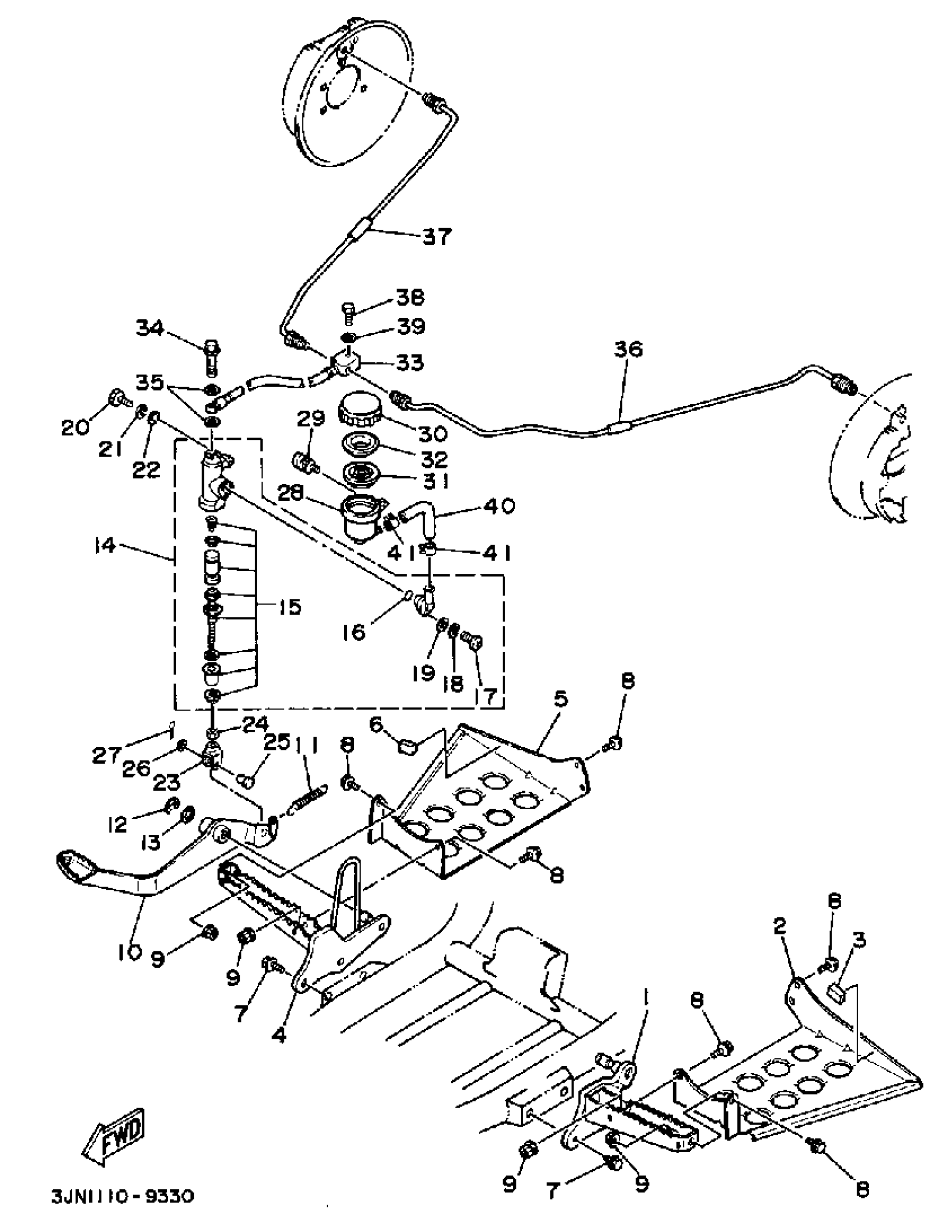
1
FOOTREST 1
3JN-27411-00-00
Unavailable
2
PLATE 1
3JN-27445-00-00
Unavailable
3
COVER 2
3FC-2139R-00-00
Unavailable
4
FOOTREST 2
4BD-27421-01-00
Unavailable
5
PLATE 2
3JN-27446-00-00
Unavailable
6
COVER 2
3FC-2139R-00-00
Unavailable
10
PEDAL, BRAKE
3JN-27211-00-00
Unavailable
14
MASTER CYLINDER ASSY
2NL-25850-50-00
Unavailable
16
O-RING (22U)
93210-15566-00
Unavailable
17
SCREW, PAN HEAD
98511-04012-00
Unavailable
18
YBS67-4 WASHER, SPRING
92990-04100-00
Unavailable
19
WASHER, PLAIN (646)
92990-04600-00
Unavailable
20
BOLT, HEXAGON
97017-08030-00
Unavailable
21
YBS67-8 WASHER, SPRING
92990-08100-00
Unavailable
22
.. WASHER, PLATE
92990-08600-00
Unavailable
23
JOINT
47X-27222-00-00
Unavailable
24
. NUT
95380-08700-00
Unavailable
25
PIN W/HOLE 307181180000
90240-08013-00
Unavailable
26
WASHER, PLATE 1562722600
90201-08083-00
Unavailable
27
PIN, COTTER
91490-16020-00
Unavailable
28
TANK, RESERVOIR
47X-25894-00-00
Unavailable
29
BOLT, WITH WASHER
90119-06130-00
Unavailable
30
CAP, RESERVOIR
2KF-25852-50-00
Unavailable
31
DIAPHRAGM, RESERVER
360-25854-01-00
Unavailable
32
BUSH,DIAPHRAGM
2GU-25855-00-00
Unavailable
33
HOSE, BRAKE
3JN-25874-51-00
Unavailable
34
BOLT, UNION(3GM)
90401-10159-00
Unavailable
35
WASHER, PLATE(481)
90201-10118-00
Unavailable
36
PIPE, BRAKE
3JN-25871-00-00
Unavailable
37
PIPE, BRAKE 2
3JN-25882-00-00
Unavailable
38
BOLT (682)
97013-08025-00
Unavailable
39
.. WASHER, PLATE
92990-08600-00
Unavailable
40
HOSE, RESERVOIR
3JN-25895-00-00
Unavailable
41
CLIP (5K4)
90467-14057-00
Unavailable
