Partiron

Yamaha YFU1W (PRO-4 PRO HAULER) 1989 GENERATOR Diagram

#

Description
Price

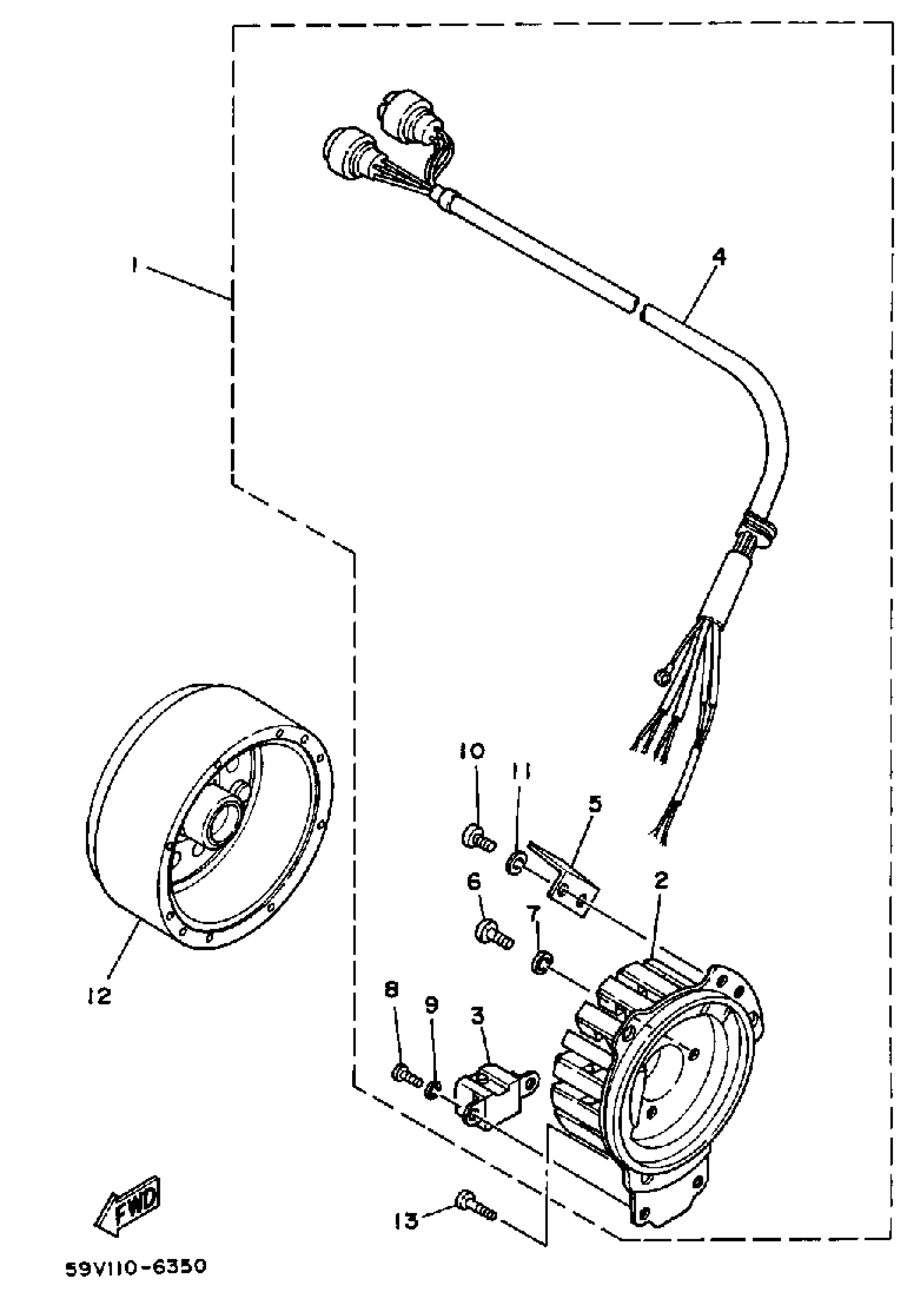
1

STATOR ASSEMBLY

59V-85510-20-00

Unavailable

2

. COIL ASSEMBLY

59V-85521-20-00

Unavailable

3

COIL,PULSER

59V-85580-20-00

Unavailable

4

. LEAD WIRE ASSEMBLY

59V-85515-20-00

Unavailable

5

. UNAVAILABLE IN PRICE BOOK

[21-V8552-50-00

Unavailable

6

SCREW, PANHEAD (A93)

98580-05525-00

$2.00

7

YBS67-5 WASHER, SPRING

92990-05100-00

$0.35

8

SCREW, PAN HEAD(62X)

97885-05010-00

Unavailable

9

YBS67-5 WASHER, SPRING

92990-05100-00

$0.35

10

SCREW, PAN HEAD (713)

98580-04008-00

$5.60

11

YBS67-4 WASHER, SPRING

92990-04100-00

$0.86

12

ROTOR ASSEMBLY

59V-85550-22-00

Unavailable

13

SCREW, PAN

98507-06014-00

$8.49