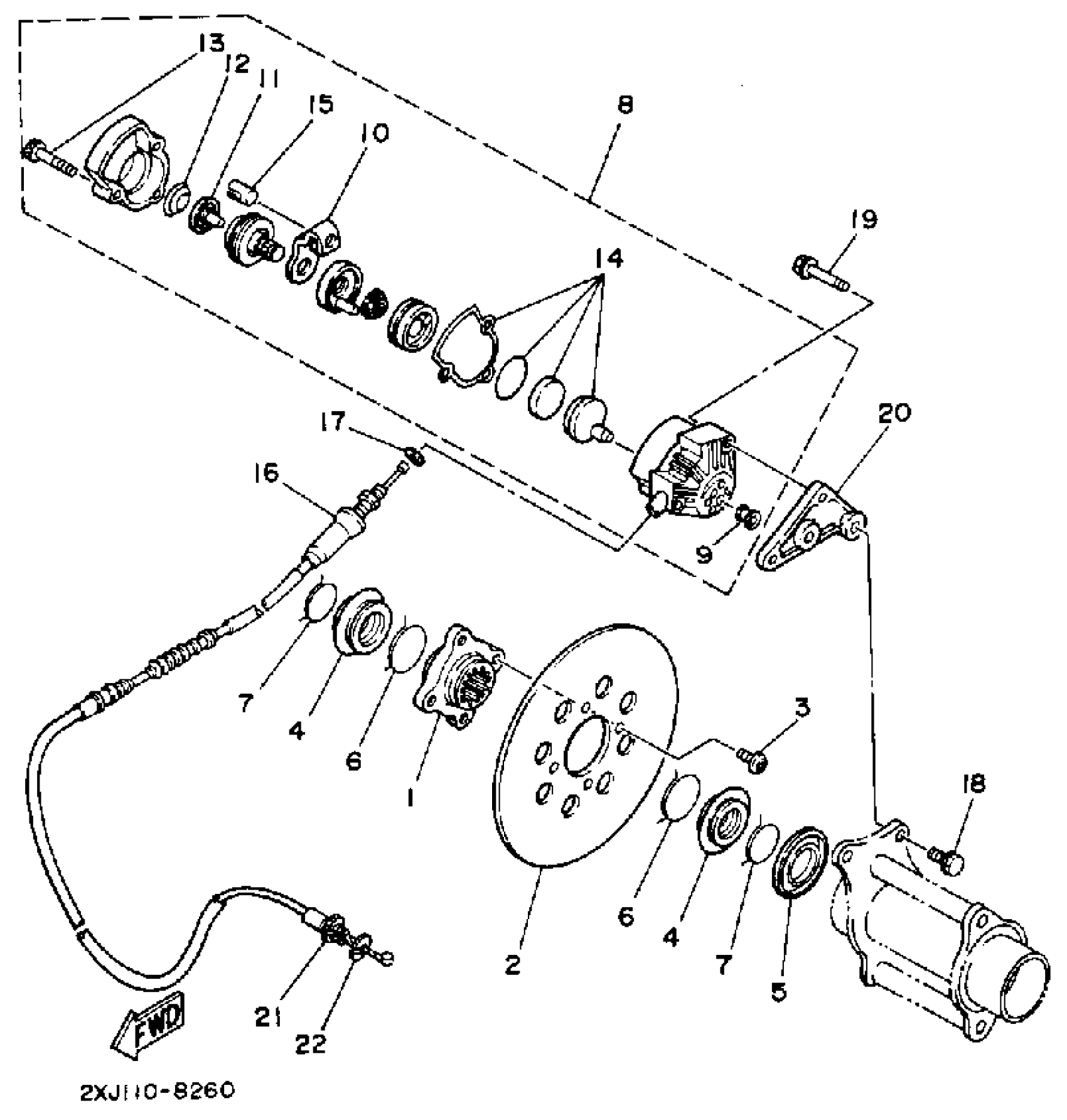
Yamaha YFS200W (BLASTER) 1989 REAR BRAKE CALIPER Diagram
#
Description
Price
1
BRACKET, DISC
2XJ-25712-00-00
Unavailable
2
DISC, BRAKE
2XJ-25831-50-00
Unavailable
5
COVER, HUB DUST
2XJ-25367-00-00
Unavailable
7
CIRCLIP
93440-36159-00
Unavailable
8
CALIPER ASSY
2XJ-25810-50-00
Unavailable
12
. SPRING, RATCHET FIX
2XJ-25772-00-00
Unavailable
13
. BOLT, CALIPER
2XJ-25818-00-00
Unavailable
15
. PIN 1
2XJ-25734-00-00
Unavailable
16
CABLE, BRAKE
2XJ-26351-03-00
Unavailable
17
WASHER, PLATE
90201-080L7-00
Unavailable
18
BOLT, WASHER BASED(2XJ)
90105-08520-00
Unavailable
19
BOLT,WASHER BASED
90105-08521-00
Unavailable
20
BRACKET, CALIPER
2XJ-25721-00-00
Unavailable
21
BOLT
90123-08002-00
Unavailable
22
NUT
90179-08030-00
Unavailable
