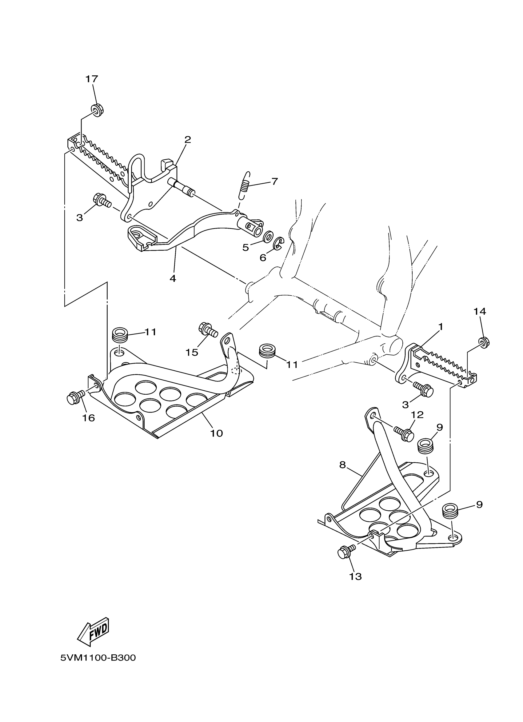
Yamaha YFS200SEV (BLASTER SE) 5VM9 2006 STAND FOOTREST Diagram
#
Description
Price
1
FOOTREST 1
5KJ-27411-00-00
Unavailable
2
FOOTREST 2
5VM-27421-00-00
Unavailable
8
PLATE 1
3JM-27445-10-00
Unavailable
10
PLATE 2
3JM-27446-10-00
Unavailable
