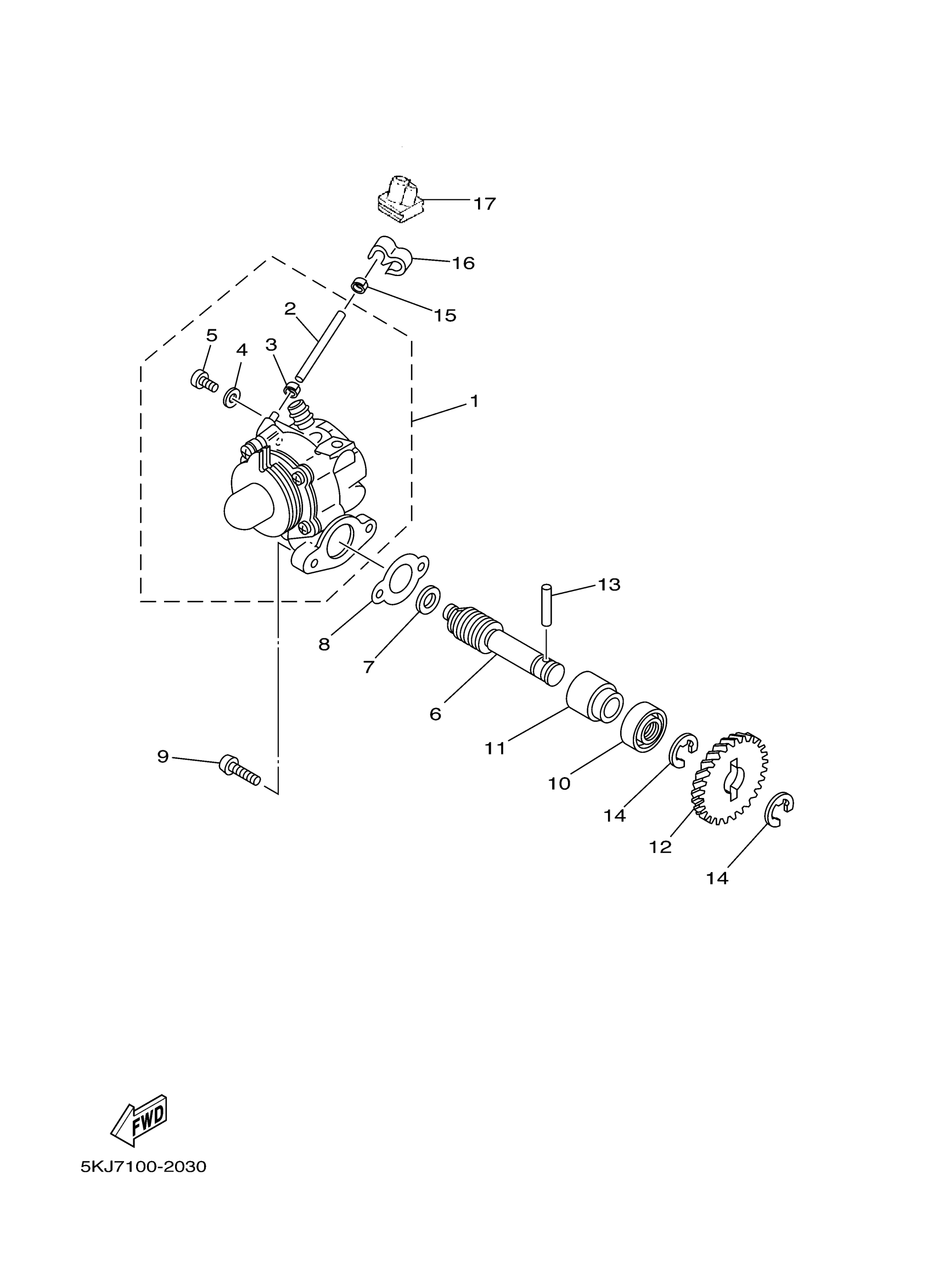
Yamaha YFS200R (BLASTER) 5VM1 2003 OIL PUMP Diagram
#
Description
Price
1
OIL PUMP ASSEMBLY
2XJ-13101-00-00
Unavailable
2
HOSE
90445-054F8-00
Unavailable
6
SHAFT, WORM
10V-13175-00-00
Unavailable
7
WASHER, PLATE (1E7)
90201-08624-00
Unavailable
11
METAL, WORM SHAFT OUTER
137-13176-00-00
Unavailable
12
GEAR, PUMP DRIVE
10V-13178-01-00
Unavailable
16
CLIP (867)
90468-15020-00
Unavailable
17
HOLDER, OIL PIPE
10V-13174-00-00
Unavailable
