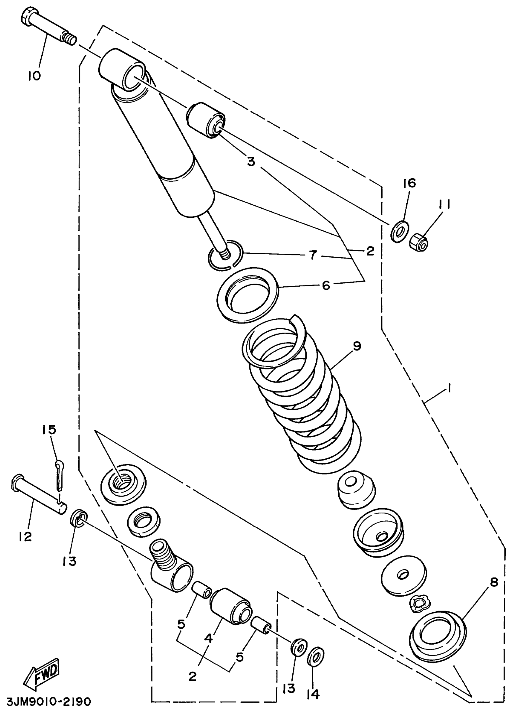
Yamaha YFS200L (BLASTER) 3JMV 1999 REAR SUSPENSION Diagram
#
Description
Price
1
SHOCK ABSORBER ASSY
2XJ-22210-20-P2
Unavailable
2
DAMPER SUB-ASSY
2XJ-22201-20-00
Unavailable
4
.. BUSH, SHOCK ABSORBER LOWER
1NU-22226-00-00
Unavailable
6
. SEAT, SPRING LOWER
22W-22223-00-00
Unavailable
9
SPRING
2XJ-22212-00-P2
Unavailable
10
BOLT
90109-10736-00
Unavailable
15
PIN, COTTER
91401-30025-00
Unavailable
16
WASHER, PLATE (26H)
90201-102G9-00
Unavailable
