Partiron

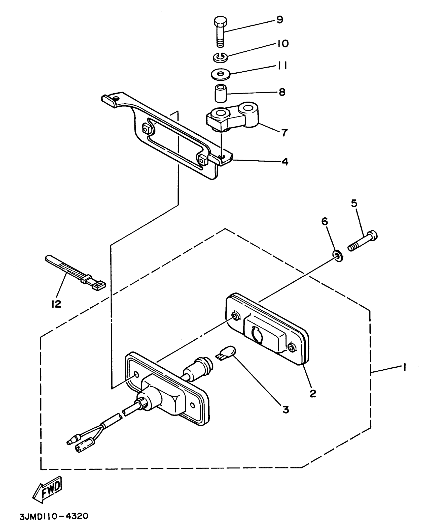
Yamaha YFS200H (BLASTER) 1996 TAILLIGHT 1 Diagram

#

Description
Price

1

. TAILLIGHT UNIT ASSY

38W-84710-00-00

Unavailable

2

. LENS, TAILLIGHT

38W-84721-00-00

Unavailable

3

. BULB, METER 12V 38W

3F9-84744-00-XX

Unavailable

4

BRACKET, TAILLIGHT

1UY-84702-10-00

Unavailable

5

SCREW, PAN HEAD

98517-04020-00

$8.49

6

WASHER(JF2)

92907-04600-00

$1.71

7

DAMPER, TAIL 1

38W-84736-00-00

$6.99

8

COLLAR (1M1)

90387-06553-00

$9.49

9

BOLT, HEXAGON

97017-06025-00

$4.24

10

WASHER(6TA)

92907-06600-00

$2.72

11

WASHER, PLATE 8221447500

90201-06057-00

$5.60

12

BAND, SWITCH CORD

437-83936-01-00

$7.99